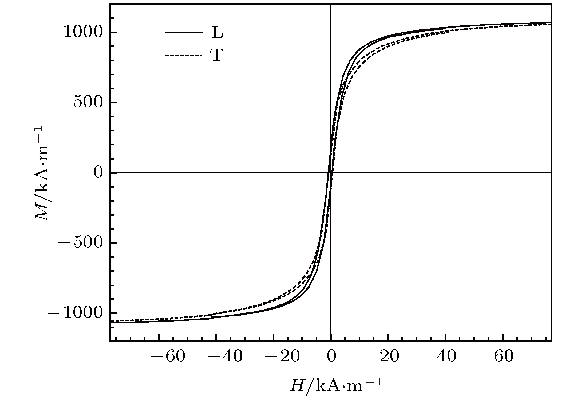
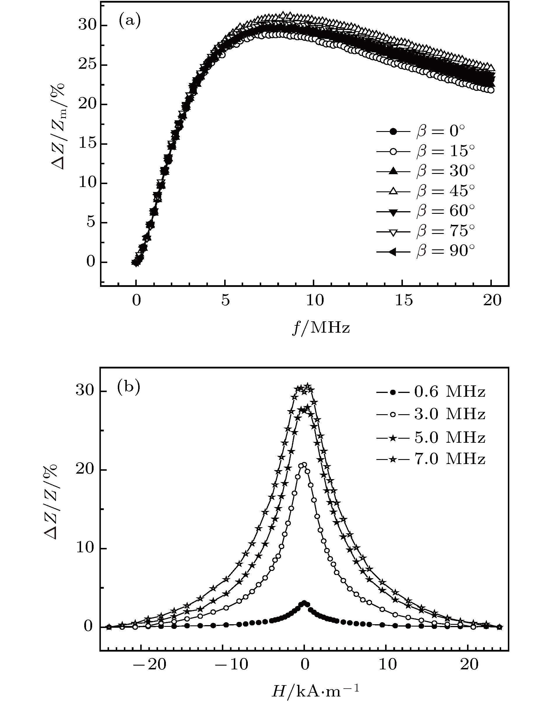
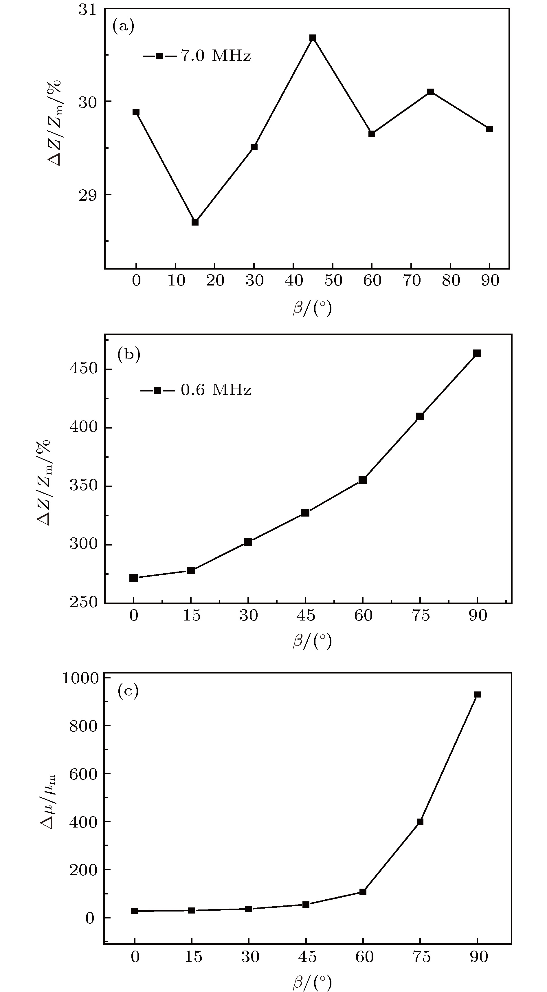
\begin{document}$\beta$\end{document}的变化特性. 结果表明, FeSiB单层薄带在7.0 MHz最佳响应频率下, GMI仅约30%, 外磁场与带轴夹角对单层薄带GMI几乎没有影响; 三明治薄带的GMI效应则十分显著, 在0.6 MHz最佳响应频率下, 纵、横向GMI比分别达到272%和464%, GMI随\begin{document}$\beta$\end{document}的增大而增强; 所有\begin{document}$\beta$\end{document}角的三明治薄带GMI曲线都出现各向异性峰, 各向异性峰随\begin{document}$\beta$\end{document}的增大而展宽. 根据磁畴转动模型推导了薄带横向磁导率与各向异性场及\begin{document}$\beta$\end{document}之间的函数关系式. 结果显示, 三明治薄带GMI随夹角\begin{document}$\beta$\end{document}变化的特性与理论推算的横向磁导率变化有较好的一致性, 而单层薄带则不然. 该磁畴转动模型能定性解释三明治薄带GMI随外磁场方向变化特性."> - 必威体育下载

搜索

x

留言板

姓名
邮箱
手机号码
标题
留言内容
验证码

downloadPDF
引用本文:
Citation:

    邵先亦, 徐爱娇, 王天乐

    Effects of the angle between magnetic field and ribbon axis on the magneto-impedance properties of amorphous FeSiB/Cu/FeSiB sandwiched ribbon

    Shao Xian-Yi, Xu Ai-Jiao, Wang Tian-Le
    PDF
    HTML
    导出引用
    计量
    • 文章访问数:6822
    • PDF下载量:45
    • 被引次数:0
    出版历程
    • 收稿日期:2018-10-07
    • 修回日期:2019-01-04
    • 上网日期:2019-03-01
    • 刊出日期:2019-03-20

      返回文章
      返回