-
分层是大气湍流特别是高空湍流显著特征. 在某一固定高度真实光学湍流
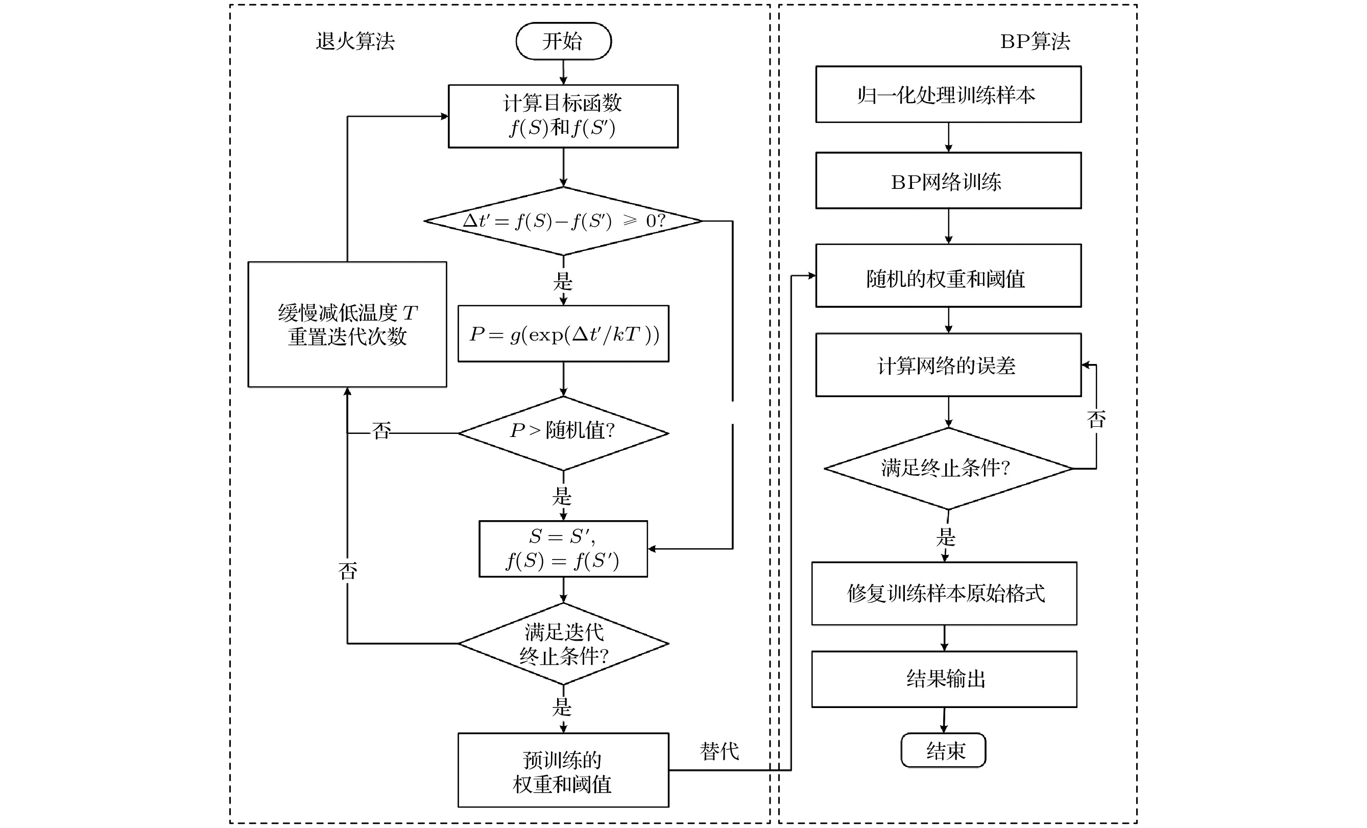
$ C_n^2 $ 值在平均值上有1—2个量级甚至更大的起伏. 以观测数据建立的湍流廓线模式, 是一个统计平均的结果. 既不能代表某次实际大气湍流廓线的分层特征, 也没有预报功能, 不能完全满足光学工程需求. 受限于计算机的容量和速度, 无法通过DNS (direct numerical simulation)以及LES (large eddy simulation)求解Navier-Stokes方程来预报光学湍流, 解决方案是通过中尺度天气数值预报模式MM5/WRF, 预报出常规气象参数, 再由湍流参数化方案计算出$ C_n^2 $ . 本文介绍了近地面层、边界层和自由大气层$ C_n^2 $ 预报方法和研究成果, 从湍流动能预报方程和温度脉动方差预报方程详细推导出Tatarski公式, 归纳出该公式所隐含的物理意义和适用条件. 重点介绍了神经网络预报$ C_n^2 $ 和$ C_n^2 $ 估算和预报方法在南极天文选址的最新研究进展. 分析了以实验数据拟合的经验模式、建立在Kolmogorov湍流理论基础之上含有常规气象参数的参数模式、与中尺度气象模式有关的预报模式、基于数据驱动的神经网络方法等不同模式的特点和差异. 强调Kolmogorov湍流理论是现有大气光学湍流参数模式的理论基础.-
关键词:
- 大气光学湍流/
- 湍流模式/
- Tatarski公式/
- 神经网络预报$ C_n^2 $/
- 南极天文选址
Stratification is a significant characteristic of atmospheric turbulence, especially high-altitude turbulence. At a fixed height, the real optical turbulence value fluctuates by 1–2 orders of magnitude or even greater on the average value. The turbulence profile model based on the observed data is a statistical average result. It can neither represent the stratification characteristics of an actual atmospheric turbulence profile nor have the prediction function, and can not fully meet the demand of optical engineering. Owing to the limitation of the capacity and speed of the computer, it is impossible to solve the Navier Stokes equation through direct numerical simulation (DNS) and large eddy simulation (LES) to predict the optical turbulence. The solution is to predict the conventional gas parameters through the mesoscale weather numerical prediction model MM5/ WRF, and then calculate the turbulence parameters through the turbulence parameterization scheme. In this paper, the prediction methods and research results of$ C_n^2 $ in surface layer,boundary layer and free atmosphere layer are introduced. Tatarski formula is derived in detail from the turbulence kinetic energy prediction equation and the temperature fluctuation variance prediction equation, and the physical meaning and applicable conditions of the formula are summarized. The latest research progress of neural network prediction and Antarctic astronomical site selection is mainly introduced. The characteristics and differences among different models, such as the empirical model fitted with experimental data, the parameter model with conventional meteorological parameters based on Kolmogorov turbulence theory, the prediction model related to mesoscale meteorological model, and the neural network method based on data driving and so on, are analyzed. It is emphasized that Kolmogorov turbulence theory is the theoretical basis of the existing atmospheric optical turbulence parameter models.-
Keywords:
- atmospheric optical turbulence/
- turbulence model/
- Tatarski formula/
- neural network prediction of $ C_n^2 $/
- astronomical site selection
[1] [2] [3] [4] [5] [6] [7] [8] [9] [10] [11] [12] [13] [14] [15] [16] [17] [18] [19] [20] [21] [22] [23] [24] [25] [26] [27] [28] [29] [30] [31] [32] [33] [34] [35] [36] [37] [38] [39] [40] [41] [42] [43] [44] [45] [46] [47] [48] [49] [50] [51] [52] [53] [54] [55] [56] [57] [58] [59] [60] [61] [62] -
Gradient AGA-BP Polar WRF RMSE 0.41 0.29 0.40 ${R_{xy}}$ 0.61 0.90 0.67 气球编号 探空日期 探空时间 HMNSP99 (RMSE/$ {R_{xy}} $) SA-BP (RMSE/$ {R_{xy}} $) 1 13/08/2020 20:03 1.30/0.65 0.49/0.72 2 14/08/2020 20:11 1.24/0.61 0.67/0.72 3 15/08/2020 20:05 1.34/0.43 0.75/0.77 4 20/08/2020 07:25 0.76/0.47 0.46/0.71 5 21/08/2020 07:17 0.74/0.76 0.43/0.80 6 22/08/2020 07:10 0.76/0.50 0.36/0.83 -
[1] [2] [3] [4] [5] [6] [7] [8] [9] [10] [11] [12] [13] [14] [15] [16] [17] [18] [19] [20] [21] [22] [23] [24] [25] [26] [27] [28] [29] [30] [31] [32] [33] [34] [35] [36] [37] [38] [39] [40] [41] [42] [43] [44] [45] [46] [47] [48] [49] [50] [51] [52] [53] [54] [55] [56] [57] [58] [59] [60] [61] [62]
计量
- 文章访问数:6089
- PDF下载量:159
- 被引次数:0












下载:







