-
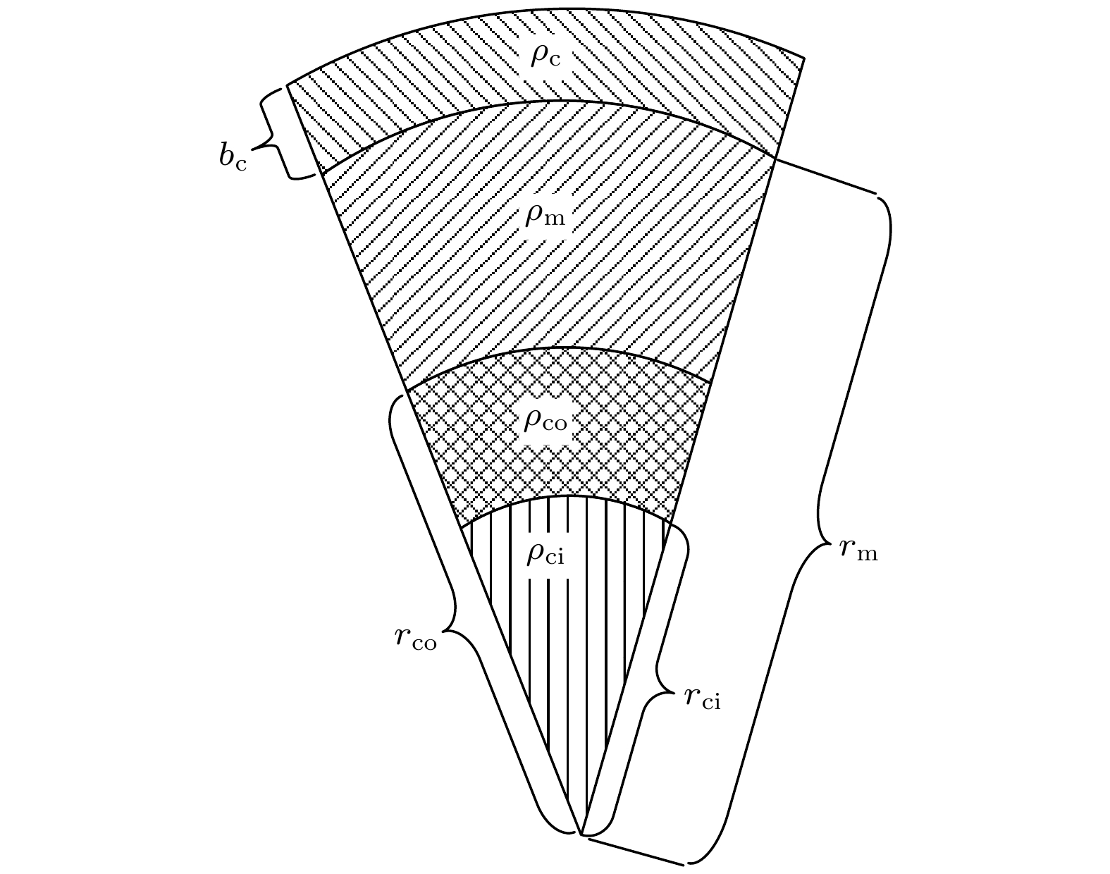
提出结合高阶月球重力场模型GL990D的2阶位系数和月球天平动参数, 以及月球的平均密度和平均惯性矩因子, 来解决月核大小及其密度组成的问题. 基于不同分层结构模型, 推导了不同分层结构情况下的平均密度和平均惯性矩因子, 并以它们理论值和观测值的残差平方和作为目标函数, 应用模拟退火算法对多参数进行估算. 考虑三层模型的月球内部结构模型, 估算的月核大小约为470 km, 月核密度约为5486 kg/m 3, 反演的月核大小及其密度组成与其他研究相近, 验证了本文算法的可靠性. 考虑月核分成外核和内核的情况, 反演的外核大小约为385 km, 内核大小约为350 km, 对应的外核密度约为4618 kg/m³, 内核密度约为7879 kg/m 3. 表明月球至35.6亿年前发电机效应约束时, 形成了以硫化亚铁为主的外核, 月核内部则形成了纯铁为主包含部分镍铁合金的内核.This study focuses on the size of composition of lunar core. In this study, we consider the lunar mean density and mean moment of inertia factor in our inversion. We use the degree-2 coefficients of lunar gravity field model GL990D and the lunar physical liberation parameters to compute mean moment of inertia factor, which is treated as an observed value. We also compute the observed value of the mean density according to the total mass of the Moon. Based on the interior structure with various layers, we deduce the modeled expressions for the lunar mean density and mean moment of inertia factor. Summing the squares of the difference between the observed value and modeled value as an inversion criterion, we estimate the multi-parameters based on the simulated annealing algorithm. By considering the lunar interior structure with three layers, the estimated size of the lunar core is around 470 km, and the density of the core is close to 5486 kg·m –3. The computed size and density of the lunar core are close to other reported values, thereby validating our algorithm. We then consider the scenarios that the lunar core differentiates between a solid inner core and a liquid outer core. The good-inversed outer core is close to 385 km, while the inner core approaches to 350 km. By using the good-inversed sizes as fixed parameters, it is found that the inner core reaches 7879 kg⋅m –³, quite denser than the outer core, which is estimated at 4618 kg⋅m –³. Our result indicates that the outer core is composed of ferrous sulfide (FeS), while the inner core is comprised of ferrous or ferro-nickel, formed 3.56 billion years ago when the lunar core dynamo ended.
-
Keywords:
- gravity field/
- physical liberation/
- simulated annealing/
- size of lunar core/
- density of lunar core
[1] [2] [3] [4] [5] [6] [7] [8] [9] [10] [11] [12] [13] [14] [15] [16] [17] [18] [19] [20] [21] [22] [23] [24] [25] [26] -
参数 取值 二阶重力位系数C20 –0.9088124807048×10–4 二阶重力位系数C22 0.3467408607293×10–4 月球的总质量M/kg 7.3462872646575×1022 月球的平均半径R/km 1737.4 月球的平均密度 $ \bar{\rho } $/(kg⋅m–3) 3340.642 天平动因子γ 227.7317×10–6 天平动因子β 631.0213×10–6 平均惯性矩因子I0/MR2 0.3930002239 -
[1] [2] [3] [4] [5] [6] [7] [8] [9] [10] [11] [12] [13] [14] [15] [16] [17] [18] [19] [20] [21] [22] [23] [24] [25] [26]
计量
- 文章访问数:3101
- PDF下载量:63
- 被引次数:0












下载:


