2025 Vol. 74, No. 2
column
- REVIEW
- DATA PAPERS
- GENERAL
- THE PHYSICS OF ELEMENTARY PARTICLES AND FIELDS
- ATOMIC AND MOLECULAR PHYSICS
- ELECTROMAGNETISM, OPTICS, ACOUSTICS, HEAT TRANSFER, CLASSICAL MECHANICS, AND FLUID DYNAMICS
- PHYSICS OF GASES, PLASMAS, AND ELECTRIC DISCHARGES
- CONDENSED MATTER: ELECTRONIC STRUCTURE, ELECTRICAL, MAGNETIC, AND OPTICAL PROPERTIES
- INTERDISCIPLINARY PHYSICS AND RELATED AREAS OF SCIENCE AND TECHNOLOGY
Display Method:
2025, 74(2): 027702.
doi: 10.7498/aps.74.20240906
Abstract:
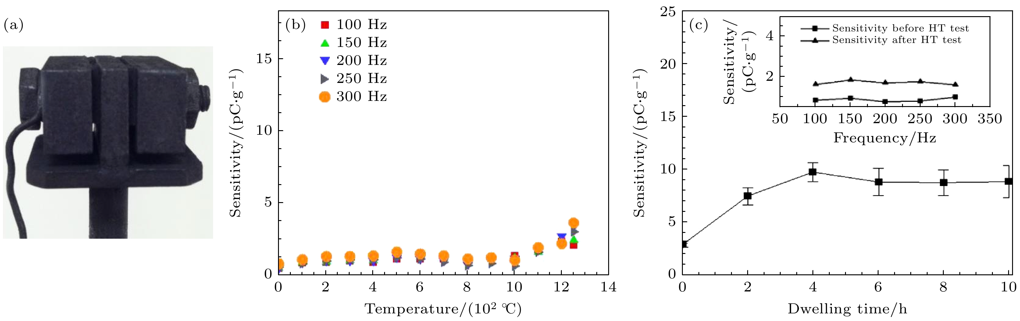
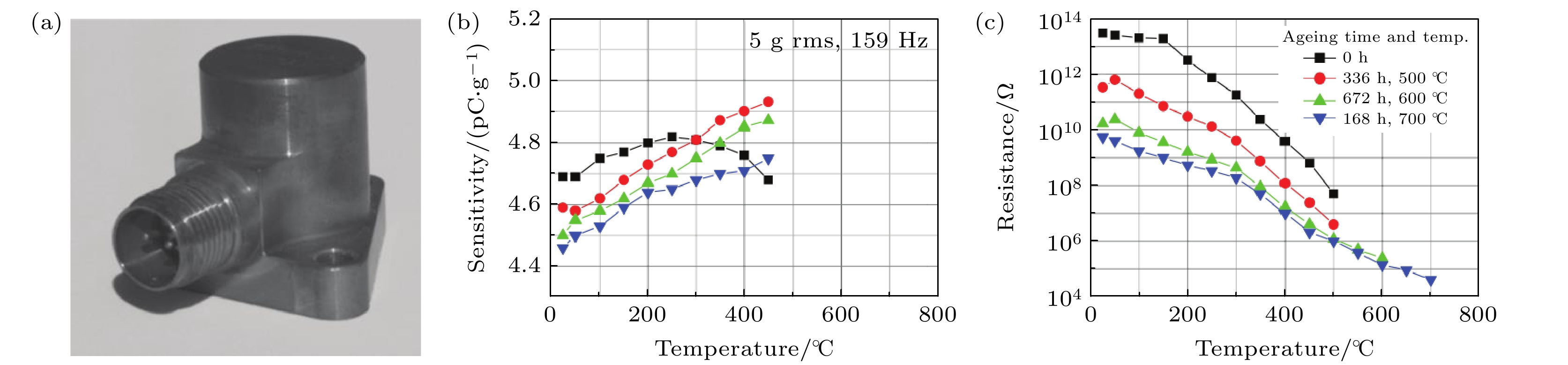
Vibration sensor technology, especially piezoelectric vibration sensor, has been widely applied in various fields. This type of sensor has excellent dynamic response, linearity, wide bandwidth, high sensitivity, large temperature range, simple structure, and stable performance, so it can be applied in many cases such as nuclear power, aerospace, rail transportation, and defense industries. However, most of piezoelectric vibration sensors are limited to operating temperatures below 500 ℃, which restricts their applications in extreme high-temperature environments encountered in nuclear reactors, aircraft engines, missile systems, and internal combustion engines. How to improve the operating temperature of piezoelectric vibration sensors to meet their application requirements in extreme environments is an urgent problem that needs to be solved. High-temperature piezoelectric materials, as the core components of piezoelectric vibration sensors, play a decisive role in determining the overall performance of the sensor. Common high-temperature piezoelectric materials include piezoelectric ceramics and single crystals. To ensure stable operation and excellent sensitivity in extreme environments, it is essential to select piezoelectric materials with high Curie temperature, high piezoelectric coefficient, high resistivity, and low dielectric loss as the sensing elements of the sensor. There are usually three main types of piezoelectric vibration sensors: bending, compression, and shear. In addition to selecting the suitable piezoelectric material, it is also crucial to choose the optimal sensor structure suitable to the specific application scenarios. In view of the urgent demand for ultrahigh-temperature vibration sensors, this paper mainly reviews the current research progress of high-temperature piezoelectric materials and high-temperature piezoelectric vibration sensors, summarizes the structures, advantages and disadvantages, and application scenarios of different types of high-temperature piezoelectric vibration sensors, explores the current problems and future development trends of high-temperature piezoelectric vibration sensors, and provides ideas for developing the next-generation ultrahigh temperature vibration sensors for extreme environmental applications, which is expected to promote the further development of high-temperature piezoelectric vibration sensing technology.
2025, 74(2): 023101.
doi: 10.7498/aps.74.20241435
Abstract:
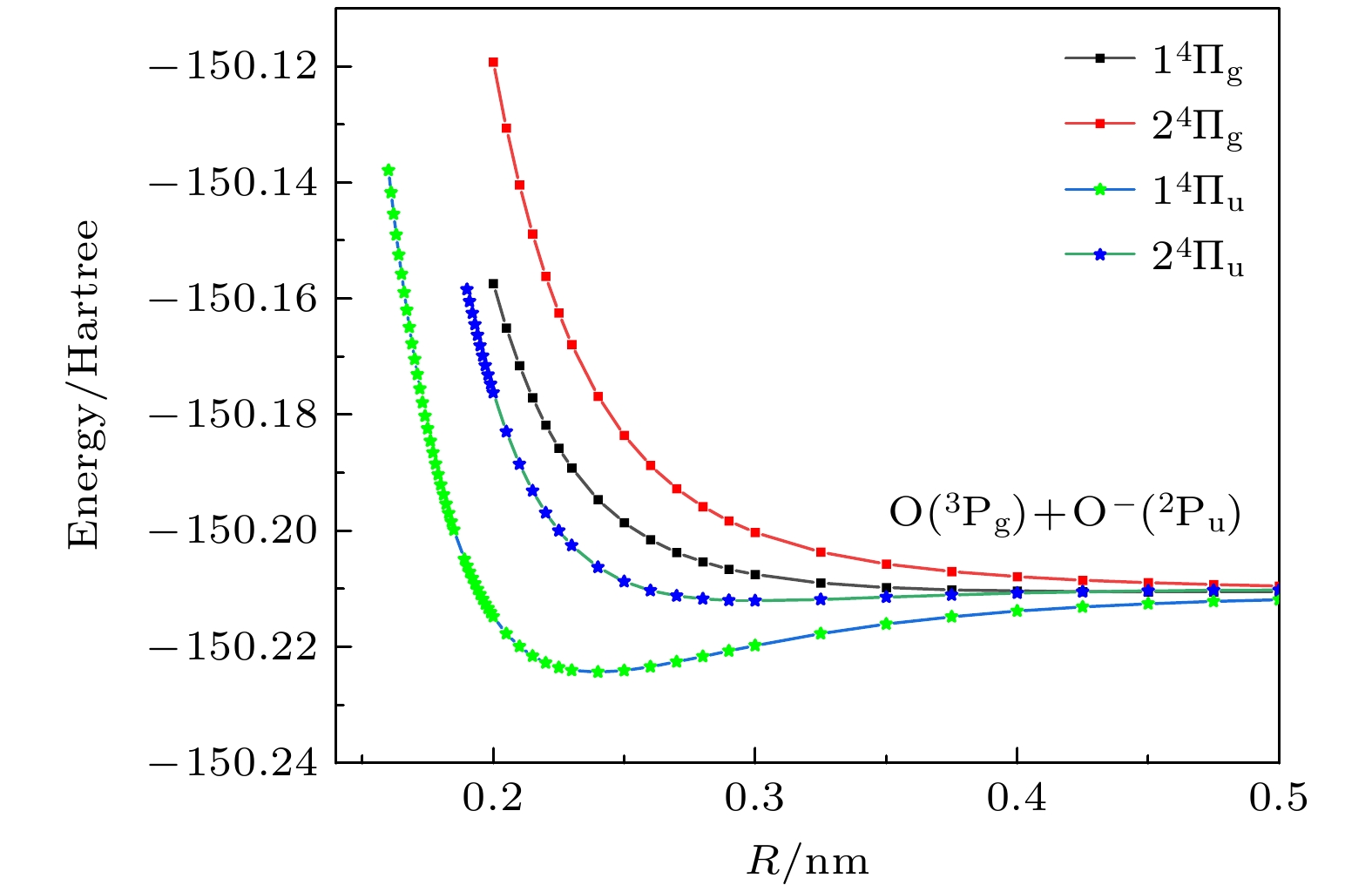
A comprehensive theoretical study on the low-energy electronic states of superoxide anion (\begin{document}${\text{O}}_{2}^{{ - }}$\end{document} ) is carried out, focusing on the influence of spin-orbit coupling (SOC) on these states. Utilizing the complete active space self-consistent field (CASSCF) method combined with the multireference configuration interaction method with Davidson correction (MRCI+Q) and employing the aug-cc-pV5Z-dk basis set that includes Douglas-Kroll relativistic corrections, the electron correlation and relativistic effects are accurately considered in this work. This work concentrates on the first and second dissociation limits of \begin{document}${\text{O}}_{2}^{{ - }}$\end{document} , calculating the potential energy curves (PECs) and spectroscopic constants of 42 Λ-S states. After introducing SOC, 84 Ω states are obtained through splitting, and their PECs and spectroscopic constants are calculated. Detailed data of the electronic states related to the second dissociation limit are provided. The results show excellent agreement with those in the existing literature, thus validating the reliability of the method. This work confirms through calculations with different basis sets that the double-well structure of the \begin{document}${{\text{a}}^{4}}{{\Sigma }}_{\text{u}}^{{ - }}$\end{document} state originates from avoiding crossing with the \begin{document}${{2}^{4}}{{\Sigma }}_{\text{u}}^{{ - }}$\end{document} state, and finds that the size of the basis set can significantly affect the depth of its potential well. After considering SOC, the total energy of the system decreases, especially for the states with high orbital angular momentum (such as the \begin{document}${{1}^{2}}{{\Phi }}_{\text{u}}$\end{document} and \begin{document}${{1}^{4}}{{{\Delta }}_{\text{g}}}$\end{document} states), leading to energy level splitting and energy reduction, while other spectroscopic constants remain essentially unchanged. These findings provide valuable theoretical insights into the electronic structure and spectroscopic properties of \begin{document}${\text{O}}_{2}^{{ - }}$\end{document} , present important reference data for future research in fields such as atmospheric chemistry, plasma physics, and molecular spectroscopy. The datasets provided in this work are available from https://doi.org/10.57760/sciencedb.j00213.00076 .
A comprehensive theoretical study on the low-energy electronic states of superoxide anion (
2025, 74(2): 023102.
doi: 10.7498/aps.74.20241325
Abstract:
The effects of different concentrations of Fe doping on the photoelectric properties of two-dimensional (2D) CuI semiconductor are studied based on the first-principles calculation method. The results show that both intrinsic 2D CuI and Fe-doped 2D CuI are direct band gap semiconductors. The total state density and partial wave state density of 2D CuI doped with different concentrations of Fe show that the increase in the number of energy bands at Fermi level is due to the influence of Fe-d and Fe-p orbital contributions after Fe doping, which can improve the conductivity of 2D CuI. With the increase of Fe doping concentration, the peak value of ε1 decreases gradually, and the peak value moves toward the high-energy end near the relatively high energy 3 eV and 6 eV, and the greater the concentration, the more obvious the shift is. These results indicate that Fe doping can enhance the high temperature resistance of 2D CuI. When a small amount of Fe is doped, the ε2 peak value increases, indicating that the ability of material to absorb electromagnetic waves is enhanced, which can stimulate more conductive electrons, and with the increase of Fe doping concentration, the absorption capability decreases, so the conductivity of 2D CuI is inhibited. The absorption coefficient of intrinsic 2D CuI and Fe-doped 2D CuI indicate that the semiconductor has strong ability to absorb photons in the ultraviolet region. The 2D CuI reflection coefficient of doped Fe atoms increases gradually with the increase of metallic properties of doped elements. This study provides theoretical reference for applying the 2D semiconductor materials and 2D CuI to optoelectronic devices. All the data presented in this paper are openly available athttps://doi.org/10.57760/sciencedb.j00213.00060 .
The effects of different concentrations of Fe doping on the photoelectric properties of two-dimensional (2D) CuI semiconductor are studied based on the first-principles calculation method. The results show that both intrinsic 2D CuI and Fe-doped 2D CuI are direct band gap semiconductors. The total state density and partial wave state density of 2D CuI doped with different concentrations of Fe show that the increase in the number of energy bands at Fermi level is due to the influence of Fe-d and Fe-p orbital contributions after Fe doping, which can improve the conductivity of 2D CuI. With the increase of Fe doping concentration, the peak value of ε1 decreases gradually, and the peak value moves toward the high-energy end near the relatively high energy 3 eV and 6 eV, and the greater the concentration, the more obvious the shift is. These results indicate that Fe doping can enhance the high temperature resistance of 2D CuI. When a small amount of Fe is doped, the ε2 peak value increases, indicating that the ability of material to absorb electromagnetic waves is enhanced, which can stimulate more conductive electrons, and with the increase of Fe doping concentration, the absorption capability decreases, so the conductivity of 2D CuI is inhibited. The absorption coefficient of intrinsic 2D CuI and Fe-doped 2D CuI indicate that the semiconductor has strong ability to absorb photons in the ultraviolet region. The 2D CuI reflection coefficient of doped Fe atoms increases gradually with the increase of metallic properties of doped elements. This study provides theoretical reference for applying the 2D semiconductor materials and 2D CuI to optoelectronic devices. All the data presented in this paper are openly available at
2025, 74(2): 027701.
doi: 10.7498/aps.74.20241520
Abstract:
Emerging wurtzite ferroelectric materials have aroused significant interest due to their high spontaneous polarization magnitude (Ps). However, there is a limited understanding of the key factors that influence Ps. Herein, a machine-learning regression model is developed to predict the Ps using a dataset consisting of 40 binary and 89 simple ternary wurtzite materials. Features are extracted based on elemental properties, crystal parameters and electronic properties. Feature selection is carried out using the Boruta algorithm and distance correlation analysis, resulting in a comprehensive machine learning model. Furthermore, SHapley Additive exPlanations analysis identifies the average cation-ion potential (IPi_Aave) and the lattice parameter (a) as significant determinants of Ps, with IPi_Aave having the most prominent effect. A lower IPi_Aave corresponds to a lower Ps in the material. Additionally, a exhibits an approximately negative correlation with Ps. This multifactorial analysis fills the existing gap in understanding the determinants of Ps, and makes a foundational contribution to the evaluating emerging wurtzite materials and expediting the discovery of high-performance ferroelectric materials. The dataset in this work can be accessed in the Scientific Data Bank https://www.doi.org/10.57760/sciencedb.j00213.00073 .
2025, 74(2): 020201.
doi: 10.7498/aps.74.20241275
Abstract:
Lithium-ion batteries (LIBs) are widely used in portable electronic devices, electric vehicles, and other fields. With the rapid development of its application fields, there is an urgent need to further improve its energy density and safety. In the charging/discharging process of the LIBs, the diffusion of Li will cause local volumetric change in the electrode material. The degradation and damage of the electrode material structure caused by diffusion-induced deformation is a major obstacle to the development of LIBs. Generally speaking, the electrode materials in LIBs are always subject to specific external constraints, including both inevitable passive structural constraints within the battery and external active constraints that may be imposed by emerging technology application scenarios, which can also affect the mechanical properties of the electrode materials. Therefore, a more in-depth understanding of the diffusion-induced stress and Li concentration changes in the electrode material is an engineering requirement for developing new material design paradigms to improve the overall performance of LIBs. In this work, a two-way diffusion-stress coupling model is used to discuss the effects of the four different levels of idealized deformation constraints on the Li concentration and stress in the bilayer plate electrode in the charging process through the numerical solution. From a mechanical perspective, the bilayer plate electrode structure has two degrees of freedom: lateral expansion and bending deformation. Weakened constraint conditions can partially or completely activate these stress release mechanisms, thereby reducing the overall stress level of the electrode structure and improving its mechanical stability. However, from an electrochemical perspective, the stress gradient generated by the forward bending deformation of the electrode structure can hinder the Li intercalation process. Enhanced constraints can partially or completely suppress the forward bending of the electrode, making the Li concentration in the active layer more uniform and thus improving the capacity utilization efficiency of the active layer. These results not only provide theoretical references for further understanding the chemical-mechanical response of the bilayer electrodes under more realistic or extreme service conditions, but also indicate from a design perspective that compromised external constraints are beneficial for balancing the structural durability and electrochemical performance of electrodes.
Lithium-ion batteries (LIBs) are widely used in portable electronic devices, electric vehicles, and other fields. With the rapid development of its application fields, there is an urgent need to further improve its energy density and safety. In the charging/discharging process of the LIBs, the diffusion of Li will cause local volumetric change in the electrode material. The degradation and damage of the electrode material structure caused by diffusion-induced deformation is a major obstacle to the development of LIBs. Generally speaking, the electrode materials in LIBs are always subject to specific external constraints, including both inevitable passive structural constraints within the battery and external active constraints that may be imposed by emerging technology application scenarios, which can also affect the mechanical properties of the electrode materials. Therefore, a more in-depth understanding of the diffusion-induced stress and Li concentration changes in the electrode material is an engineering requirement for developing new material design paradigms to improve the overall performance of LIBs. In this work, a two-way diffusion-stress coupling model is used to discuss the effects of the four different levels of idealized deformation constraints on the Li concentration and stress in the bilayer plate electrode in the charging process through the numerical solution. From a mechanical perspective, the bilayer plate electrode structure has two degrees of freedom: lateral expansion and bending deformation. Weakened constraint conditions can partially or completely activate these stress release mechanisms, thereby reducing the overall stress level of the electrode structure and improving its mechanical stability. However, from an electrochemical perspective, the stress gradient generated by the forward bending deformation of the electrode structure can hinder the Li intercalation process. Enhanced constraints can partially or completely suppress the forward bending of the electrode, making the Li concentration in the active layer more uniform and thus improving the capacity utilization efficiency of the active layer. These results not only provide theoretical references for further understanding the chemical-mechanical response of the bilayer electrodes under more realistic or extreme service conditions, but also indicate from a design perspective that compromised external constraints are beneficial for balancing the structural durability and electrochemical performance of electrodes.
2025, 74(2): 020301.
doi: 10.7498/aps.74.20241592
Abstract:
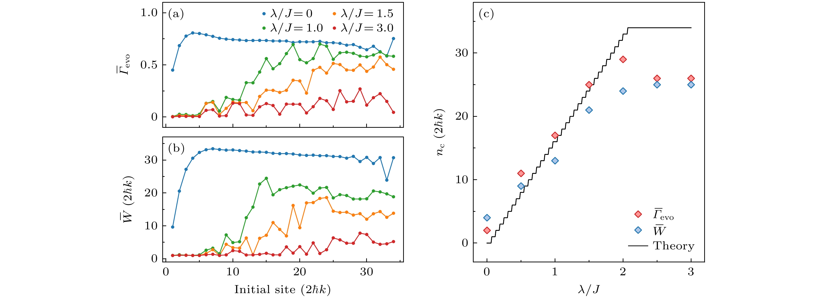
Anderson localization is a profound phenomenon in condensed matter physics, representing a fundamental transition in eigenstates, which is triggered off by disorder. The one-dimensional Aubry-André-Harper (AAH) model, an iconic quasiperiodic lattice model, is one of the simplest models that demonstrate the Anderson localization transition. Recently, with the growth of interest in quantum lattice models in curved spacetime (CST), the AAH model in CST has been proposed to explore the interplay between Anderson localization and CST physics. Several CST lattice models have been realized in optical waveguide systems to date, but there are still significant challenges to the experimental preparation and measurement of states, primarily due to the difficulty in dynamically modulating the lattices in such systems. In this work, we propose an experimental scheme using a momentum-state lattice (MSL) in an ultracold atom system to realize the AAH model in CST and study the Anderson localization in this context. Due to the individually controllable coupling between adjacent momentum states in each pair, the coupling amplitude in the MSL can be encoded as a power-law position-dependent\begin{document}$J_n \propto n^{\sigma}$\end{document} , which is conducive to the effective simulation of CST. The numerical calculation results of the MSL Hamiltonian show that the phase separation appears in a 34-site AAH chain in CST, where wave packet dynamics exhibit the localized behavior on one side of the critical site and the extended behavior on the other side. The critical site of phase separation is identified by extracting the turning points of the evolving fractal dimension and wave packet width from the evolution simulations. Furthermore, by modulating the spacetime curvature parameter σ, we propose a method of preparing the eigenstates of the AAH chain in CST, and perform numerical simulations in the MSL. By calculating the fractal dimension of eigenstates prepared using the aforementioned method, we analyze the localization properties of eigenstates under various quasiperiodic modulation phases, confirming the coexistence of localized phase, swing phase, and extended phase in the energy spectrum. Unlike traditional localized and extended phases, eigenstates in the swing phase of the AAH model in CST exhibit different localization properties under different modulation phases, indicating the existence of a swing mobility edge. Our results provide a feasible experimental method for studying Anderson localization in CST and presents a new platform for realizing quantum lattice models in curved spacetime.
Anderson localization is a profound phenomenon in condensed matter physics, representing a fundamental transition in eigenstates, which is triggered off by disorder. The one-dimensional Aubry-André-Harper (AAH) model, an iconic quasiperiodic lattice model, is one of the simplest models that demonstrate the Anderson localization transition. Recently, with the growth of interest in quantum lattice models in curved spacetime (CST), the AAH model in CST has been proposed to explore the interplay between Anderson localization and CST physics. Several CST lattice models have been realized in optical waveguide systems to date, but there are still significant challenges to the experimental preparation and measurement of states, primarily due to the difficulty in dynamically modulating the lattices in such systems. In this work, we propose an experimental scheme using a momentum-state lattice (MSL) in an ultracold atom system to realize the AAH model in CST and study the Anderson localization in this context. Due to the individually controllable coupling between adjacent momentum states in each pair, the coupling amplitude in the MSL can be encoded as a power-law position-dependent
2025, 74(2): 020701.
doi: 10.7498/aps.74.20241542
Abstract:
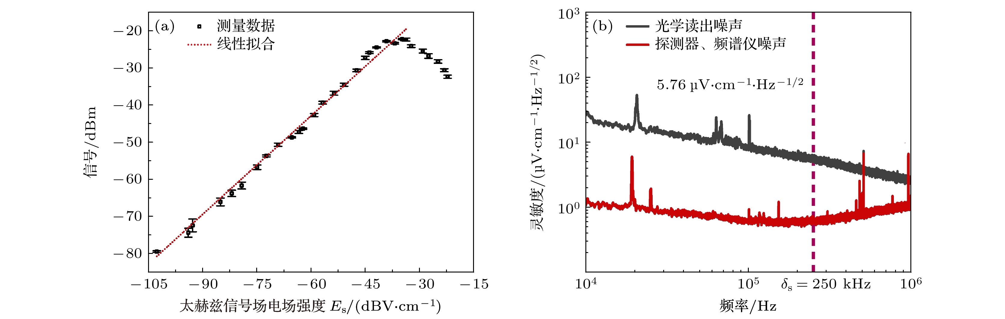
Terahertz thickness measurement is very important in materials research and industrial test. And it can beused to measure various materials such as wood, paper, ceramics, plastics, and composite materials. Atomic superheterodyne terahertz detector has extremely high sensitivity. The sensitivity of terahertz electric field strength measurement can reach 5.76 μV/(cm·Hz1/2). Simultaneously, the linear dynamic range is better than 60 dB. So, it can be used to precisely measure the thickness of materials through the terahertz transmission efficiency. The experiments in this work demonstrate the thickness measurement of sapphire crystal and organic materials PTFE. The terahertz signal is shown in Fig. (a) sapphire material and Fig. (b) PTFE material. The thickness can be calculated from the transmittance, and the result is consistent with the result measured directly with a vernier caliper. Furthermore, single-layer graphene and few-layer graphene can be clearly distinguished from terahertz transmission signals as shown in Fig. (c) graphene material. Even for niobium meta thin films with thickness of 1 μm, very weak terahertz signal can be well distinguished due to the high sensitivity of atomic superheterodyne terahertz detector. In summary, the technology developed for terahertz thickness measurement based on atomic superheterodyne detection is very important for detecting defects, checking coating, and measuring the parameters of materials.
Terahertz thickness measurement is very important in materials research and industrial test. And it can beused to measure various materials such as wood, paper, ceramics, plastics, and composite materials. Atomic superheterodyne terahertz detector has extremely high sensitivity. The sensitivity of terahertz electric field strength measurement can reach 5.76 μV/(cm·Hz1/2). Simultaneously, the linear dynamic range is better than 60 dB. So, it can be used to precisely measure the thickness of materials through the terahertz transmission efficiency. The experiments in this work demonstrate the thickness measurement of sapphire crystal and organic materials PTFE. The terahertz signal is shown in Fig. (a) sapphire material and Fig. (b) PTFE material. The thickness can be calculated from the transmittance, and the result is consistent with the result measured directly with a vernier caliper. Furthermore, single-layer graphene and few-layer graphene can be clearly distinguished from terahertz transmission signals as shown in Fig. (c) graphene material. Even for niobium meta thin films with thickness of 1 μm, very weak terahertz signal can be well distinguished due to the high sensitivity of atomic superheterodyne terahertz detector. In summary, the technology developed for terahertz thickness measurement based on atomic superheterodyne detection is very important for detecting defects, checking coating, and measuring the parameters of materials.
2025, 74(2): 021401.
doi: 10.7498/aps.74.20241529
Abstract:
Fast neutron multiplicity measurement technology is an important non-destructive testing technology in the field of arms control verification. In the technique, the liquid scintillation detector is used to detect the fission neutron and combined with the time correlation analysis method to extract multiplicity counting rates from the pulse signals. This technique is commonly used to measure the mass of nuclear materials, however, it is based on the point model that assumes that the neutron multiplication coefficient keeps constant in the whole spatial volume, which will lead to overestimation of the multiplication coefficient and result in system deviation. To correct the deviation and improve the measurement accuracy, the fast neutron multiplicity simulation measurements are carried out on spherical and cylindrical samples in this work. The relationship among the position of neutron generation, absorption and net growth in the space volume of the material is obtained. According to the definition of the leakage multiplication coefficient, the leakage multiplication coefficients at different positions in the space volume of the material are calculated. On this basis, a method based on spatial multiplication coefficient correction is proposed according to the functional relationship between neutron multiplicity factorial moments and the unknown parameters. In this method, the n-order multiplication coefficient is modified by introducing a weight factor\begin{document}$ {g_n} $\end{document} , and the fast neutron multiplicity weighted point model equation is derived. To verify the accuracy of this method, a set of fast neutron multiplicity detection model is built by Geant4, and the fast neutron multiplicity simulation measurement is carried out on the spherical and cylindrical samples. The results show that the solution accuracy of the weighted point model equation is higher than that of the standard point model equation, and the measurement deviation is reduced to less than 6 %. This work provides an optimization method for solving plutonium samples with several kilograms in mass, and promotes the development of the fast neutron multiplicity measurement technology.
Fast neutron multiplicity measurement technology is an important non-destructive testing technology in the field of arms control verification. In the technique, the liquid scintillation detector is used to detect the fission neutron and combined with the time correlation analysis method to extract multiplicity counting rates from the pulse signals. This technique is commonly used to measure the mass of nuclear materials, however, it is based on the point model that assumes that the neutron multiplication coefficient keeps constant in the whole spatial volume, which will lead to overestimation of the multiplication coefficient and result in system deviation. To correct the deviation and improve the measurement accuracy, the fast neutron multiplicity simulation measurements are carried out on spherical and cylindrical samples in this work. The relationship among the position of neutron generation, absorption and net growth in the space volume of the material is obtained. According to the definition of the leakage multiplication coefficient, the leakage multiplication coefficients at different positions in the space volume of the material are calculated. On this basis, a method based on spatial multiplication coefficient correction is proposed according to the functional relationship between neutron multiplicity factorial moments and the unknown parameters. In this method, the n-order multiplication coefficient is modified by introducing a weight factor
2025, 74(2): 023201.
doi: 10.7498/aps.74.20240618
Abstract:
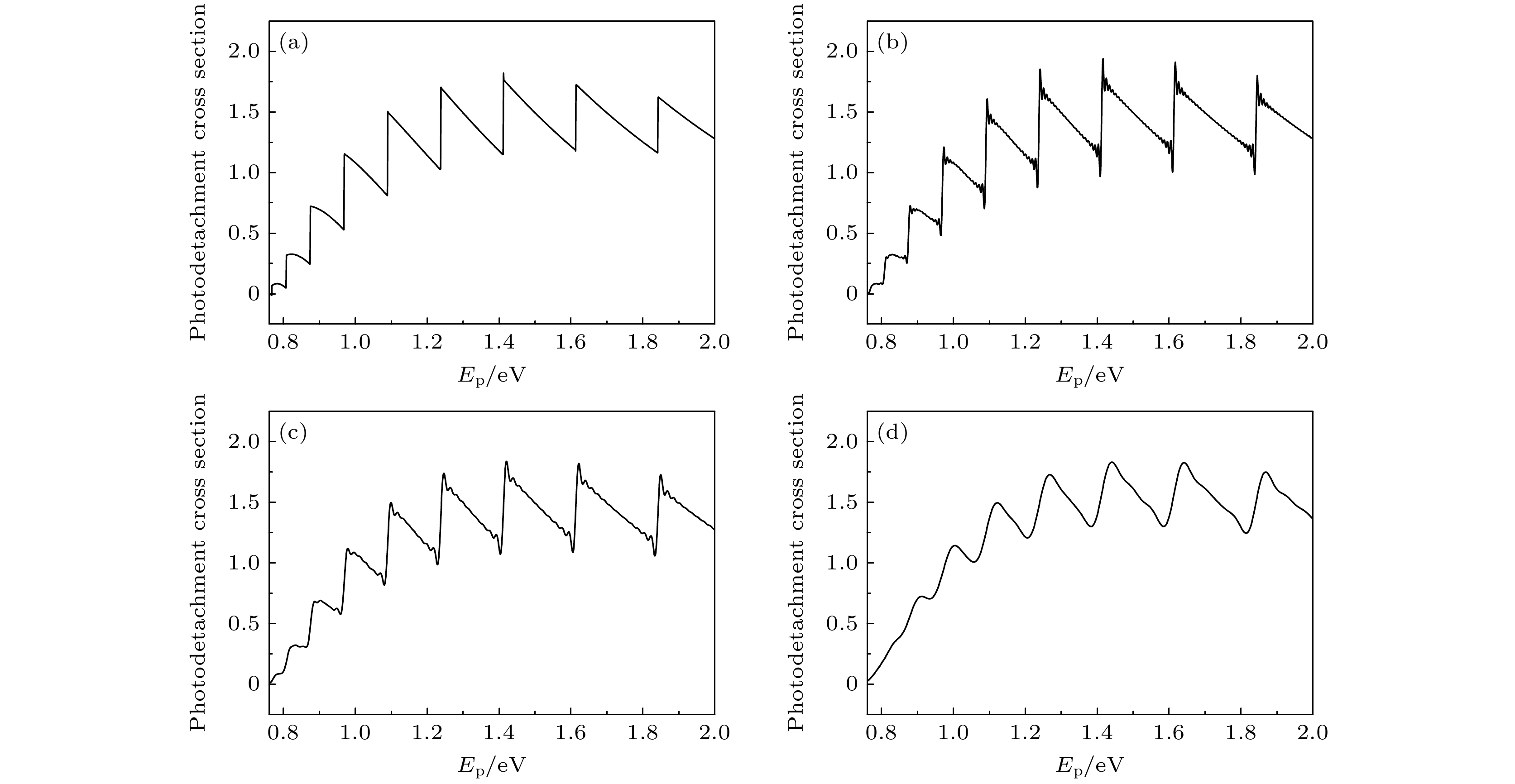
This work is to investigate the photo-detachment cross-section (PCS) of anions in an expanding quantum well formed by two moving elastic walls. Through the study of the closed orbits of the detached electrons, we derive the analytical expression for the period of these closed orbits. We utilize the classical closed-orbit theory (COT) to deeply explore and derive the PCS of this system, which is a superposition of a smooth background term and an oscillatory term caused by collisions between electrons and the two elastic walls of the quantum well. The calculation results show that the oscillation amplitude of the photo-detachment cross-section is highly sensitive to the wall velocity of the extended quantum well. When the quantum well is static, the photo-detachment cross-section exhibits a regular saw-tooth structure. As the walls begin to move, this regular saw-tooth structure becomes irregular. As the wall velocity increases, the oscillation structure within the PCS becomes increasingly complex. Furthermore, the photo-detachment cross-section is closely related to the initial distance between the negative hydrogen ion and the two moving walls, known as the well width. And through calculations of two different scenarios involving extended quantum wells, we find that for an asymmetrically expanding quantum well, the effect of moving walls on anionic PCS is more significant than for a symmetrically expanding quantum well. The research findings also reveal that as the well width narrows, the localized space for electrons becomes smaller, leading to stronger quantum confinement and an increase in the oscillation amplitude across the cross-section. As the well width increases, the quantum confinement effect on the electrons weakens, resulting in a decrease in the oscillation amplitude across the cross-section. When the well width reaches a certain level, the quantum well no longer exhibits significant quantum confinement effects, and the photo-detachment cross-section tends to approach a smooth background term. Therefore, precise control of the photo-detachment cross-section of negative hydrogen ions in an expanding quantum well formed by two moving elastic walls can be achieved by adjusting the initial size of the quantum well and the expansion speed of the quantum well. The phenomena revealed in this study are quite intriguing, and the methods employed are universal, providing guidance for future studying the photo-detachment cross-sections in more complex dynamic quantum wells. The findings of this study have significant reference value in the field of surface physics, enriching our understanding of the photo-detachment dynamics of anions in moving quantum wells, and they also provide a theoretical basis and guidance for future experimental research on the photo-detachment dynamics of anions in dynamic quantum wells.
This work is to investigate the photo-detachment cross-section (PCS) of anions in an expanding quantum well formed by two moving elastic walls. Through the study of the closed orbits of the detached electrons, we derive the analytical expression for the period of these closed orbits. We utilize the classical closed-orbit theory (COT) to deeply explore and derive the PCS of this system, which is a superposition of a smooth background term and an oscillatory term caused by collisions between electrons and the two elastic walls of the quantum well. The calculation results show that the oscillation amplitude of the photo-detachment cross-section is highly sensitive to the wall velocity of the extended quantum well. When the quantum well is static, the photo-detachment cross-section exhibits a regular saw-tooth structure. As the walls begin to move, this regular saw-tooth structure becomes irregular. As the wall velocity increases, the oscillation structure within the PCS becomes increasingly complex. Furthermore, the photo-detachment cross-section is closely related to the initial distance between the negative hydrogen ion and the two moving walls, known as the well width. And through calculations of two different scenarios involving extended quantum wells, we find that for an asymmetrically expanding quantum well, the effect of moving walls on anionic PCS is more significant than for a symmetrically expanding quantum well. The research findings also reveal that as the well width narrows, the localized space for electrons becomes smaller, leading to stronger quantum confinement and an increase in the oscillation amplitude across the cross-section. As the well width increases, the quantum confinement effect on the electrons weakens, resulting in a decrease in the oscillation amplitude across the cross-section. When the well width reaches a certain level, the quantum well no longer exhibits significant quantum confinement effects, and the photo-detachment cross-section tends to approach a smooth background term. Therefore, precise control of the photo-detachment cross-section of negative hydrogen ions in an expanding quantum well formed by two moving elastic walls can be achieved by adjusting the initial size of the quantum well and the expansion speed of the quantum well. The phenomena revealed in this study are quite intriguing, and the methods employed are universal, providing guidance for future studying the photo-detachment cross-sections in more complex dynamic quantum wells. The findings of this study have significant reference value in the field of surface physics, enriching our understanding of the photo-detachment dynamics of anions in moving quantum wells, and they also provide a theoretical basis and guidance for future experimental research on the photo-detachment dynamics of anions in dynamic quantum wells.
2025, 74(2): 024101.
doi: 10.7498/aps.74.20241196
Abstract:
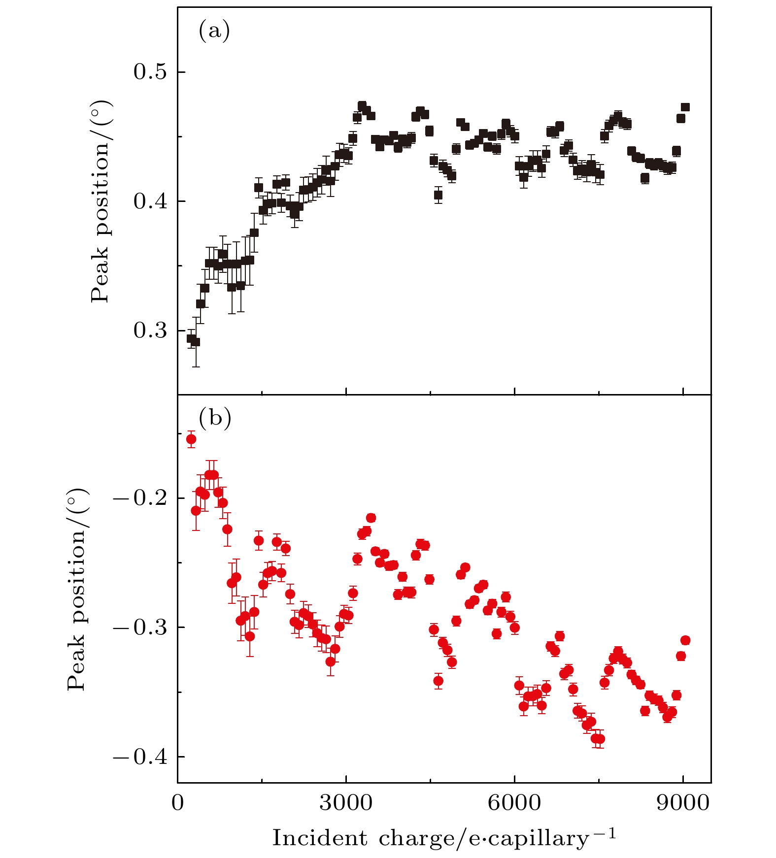
The transmission of 2-keV electrons through a polyethylene terephthalate (PET) nanocapillary with a diameter of 800 nm and a length of 10 μm is studied. The transmitted electrons are detected using microchannel plate (MCP) with a phosphor screen. It is found that the transmission rate for the transmitted electrons with the incident energy can reach up to 10 % for an aligned capillary in the beam direction, but drops to less than 1% when the tilt angle exceeds the geometrical allowable angle. The transmitted electrons with the incident energy do not move with change of tilt angle, so the incident electrons are not guided in the insulating capillary, which is different from the scenario of positive ions. In the final stage of the transmission, the angular distribution of the transmitted electrons within the geometrical allowable angle splits into two peaks along the observation angle perpendicular to the tilt angle. The time evolution of the transmitted full angular distribution shows that when the beam turns on, the transmission profile forms a single peak. As the incident charge and time accumulate, the transmission profile starts to stretch in the plane perpendicular to the tilt angle and gradually splits into two peaks. When the tilt angle of the nanocapillary exceeds the geometrical allowable angle, this splitting tends to disappear. Simulation of the charge deposition in the capillary directly exposed to the beam indicates the formation of positive charge patches, which are not conducive to guidance, as seen in the case of positive ions. According to the simulation results, we can explain our data. Then, the possible reasons for the splitting the transmission angular profiles are discussed.
The transmission of 2-keV electrons through a polyethylene terephthalate (PET) nanocapillary with a diameter of 800 nm and a length of 10 μm is studied. The transmitted electrons are detected using microchannel plate (MCP) with a phosphor screen. It is found that the transmission rate for the transmitted electrons with the incident energy can reach up to 10 % for an aligned capillary in the beam direction, but drops to less than 1% when the tilt angle exceeds the geometrical allowable angle. The transmitted electrons with the incident energy do not move with change of tilt angle, so the incident electrons are not guided in the insulating capillary, which is different from the scenario of positive ions. In the final stage of the transmission, the angular distribution of the transmitted electrons within the geometrical allowable angle splits into two peaks along the observation angle perpendicular to the tilt angle. The time evolution of the transmitted full angular distribution shows that when the beam turns on, the transmission profile forms a single peak. As the incident charge and time accumulate, the transmission profile starts to stretch in the plane perpendicular to the tilt angle and gradually splits into two peaks. When the tilt angle of the nanocapillary exceeds the geometrical allowable angle, this splitting tends to disappear. Simulation of the charge deposition in the capillary directly exposed to the beam indicates the formation of positive charge patches, which are not conducive to guidance, as seen in the case of positive ions. According to the simulation results, we can explain our data. Then, the possible reasons for the splitting the transmission angular profiles are discussed.
2025, 74(2): 024201.
doi: 10.7498/aps.74.20241371
Abstract:
Stimulated Brillouin scattering (SBS) is the major barrier in the process of energy scaling for pulsed single-frequency fiber master oscillator power amplifier (MOPA). Due to gain saturation effect, the laser pulse profile will be gradually distorted with the increase of pump power, which induces steep leading edge and narrower width for the amplified pulses. The resulting laser peak power would increase rapidly and thus the SBS threshold is reached earlier to limit the amplification of pulse energy. A method to obtain high-energy pulsed single-frequency laser by pulse pre-shaping is demonstrated in this work. By designing the leading edge of the triangular pulse, optimizing its rising trend and the duration of the low-intensity rising part, the pulse width compression phenomenon caused by gain saturation is alleviated effectively. Thereafter, the laser peak power increase process can be retarded to reach the SBS threshold so that higher energy can be amplified for the pulsed single-frequency fiber laser. In the experiment, when the seed pulse is optimized to be a triangular pulse with a low-intensity rising edge of 401 ns and a pulse width of 520 ns, a linear-polarized pulse single-frequency fiber laser of 130.9 μJ is obtained in a 12-μm-core Er/Yb co-doped polarization-maintaining fiber. The pulse width is broadened to 608 ns at the maximum energy. When it is compared with the triangular pulse seed with a rapidly rising leading edge, its maximum energy is increased by about 25%. The optical signal-to-noise ratio and polarization extinction ratio are measured to be 42 dB and 16 dB at the maximum pulse energy, respectively. The corresponding spectral linewidth measured by a delayed self-heterodyne system is 542 kHz. Higher pulse energy can be anticipated by further optimizing the pulse profile and using large-mode-are gain fibers.
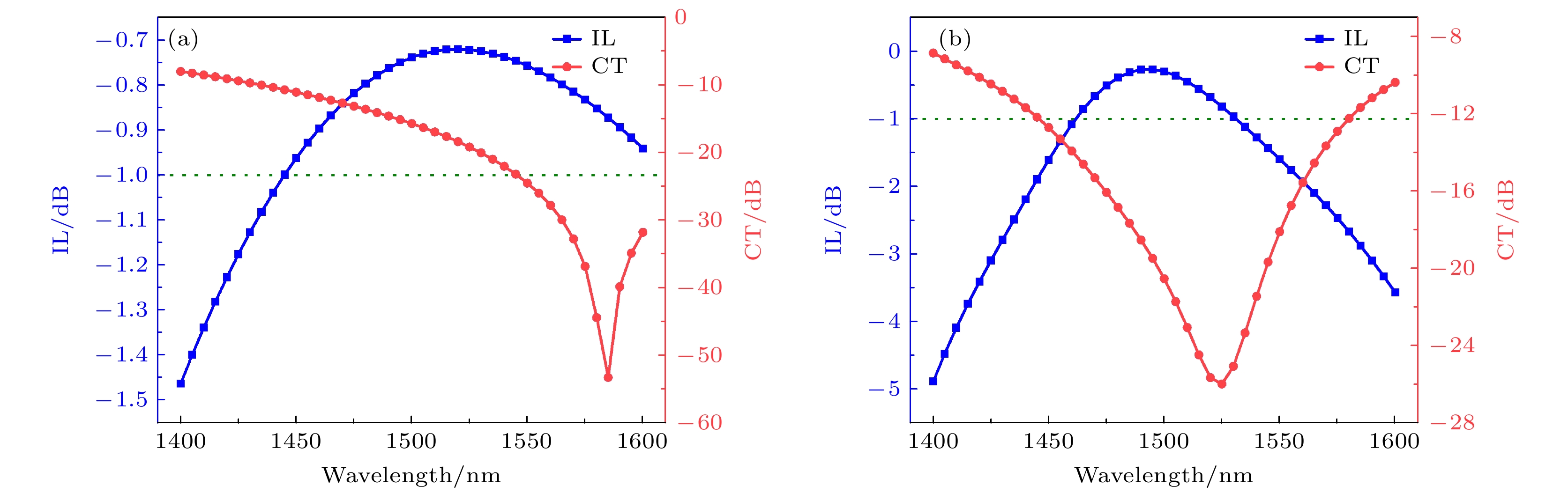
2025, 74(2): 024202.
doi: 10.7498/aps.74.20241243
Abstract:
On-chip erbium-doped/erbium-ytterbium co-doped waveguide amplifiers (EDWAs/EYCDWAs) have received extensive research attention in recent years. However, there has been relatively little research on integrated wavelength division multiplexing/demultiplexing devices for 980-nm pump light and 1550-nm signal light. This work aims to propose a compact Ta2O5 diplexer for 980/1550-nm wavelengths based on multimode interference effects. The device utilizes a structure that combines symmetric interference with a cascaded paired interference design, thereby reducing the total length of the segmented multimode interference waveguide to one-third that of a conventional paired multimode interference waveguide. This is achieved without using any complex structure, such as subwavelength gratings, to adjust the beat length of the pump and signal light. The three-dimensional finite difference time domain (3D-FDTD) tool is used to analyze and optimize the established model. The results demonstrate that the designed MMI diplexer has low insertion loss and high process tolerance, with an insertion loss of 0.4 dB at 980 nm and 0.8 dB at 1550 nm, and that the extinction ratios are both better than 16 dB. Moreover, the 1 dB bandwidth reaches up to 150 nm near the 1550 nm wavelength and up to 70 nm near the 980 nm wavelength. The segmented structure designed in this work greatly reduces both the difficulty in designing the MMI devices and the overall size of 980/1550 nm wavelength division multiplexers/demultiplexers. It is expected to be applied to on-chip integrated erbium-doped waveguide amplifiers and lasers. In addition, the segmented design method of cascading the hybrid multimode interference mechanism provides a technical reference for separating two optical signals with long center wavelengths such as 800/1310 nm and 1550/2000 nm, and has potential application value in communication and mid infrared diplexing devices.
On-chip erbium-doped/erbium-ytterbium co-doped waveguide amplifiers (EDWAs/EYCDWAs) have received extensive research attention in recent years. However, there has been relatively little research on integrated wavelength division multiplexing/demultiplexing devices for 980-nm pump light and 1550-nm signal light. This work aims to propose a compact Ta2O5 diplexer for 980/1550-nm wavelengths based on multimode interference effects. The device utilizes a structure that combines symmetric interference with a cascaded paired interference design, thereby reducing the total length of the segmented multimode interference waveguide to one-third that of a conventional paired multimode interference waveguide. This is achieved without using any complex structure, such as subwavelength gratings, to adjust the beat length of the pump and signal light. The three-dimensional finite difference time domain (3D-FDTD) tool is used to analyze and optimize the established model. The results demonstrate that the designed MMI diplexer has low insertion loss and high process tolerance, with an insertion loss of 0.4 dB at 980 nm and 0.8 dB at 1550 nm, and that the extinction ratios are both better than 16 dB. Moreover, the 1 dB bandwidth reaches up to 150 nm near the 1550 nm wavelength and up to 70 nm near the 980 nm wavelength. The segmented structure designed in this work greatly reduces both the difficulty in designing the MMI devices and the overall size of 980/1550 nm wavelength division multiplexers/demultiplexers. It is expected to be applied to on-chip integrated erbium-doped waveguide amplifiers and lasers. In addition, the segmented design method of cascading the hybrid multimode interference mechanism provides a technical reference for separating two optical signals with long center wavelengths such as 800/1310 nm and 1550/2000 nm, and has potential application value in communication and mid infrared diplexing devices.
2025, 74(2): 024203.
doi: 10.7498/aps.74.20241352
Abstract:
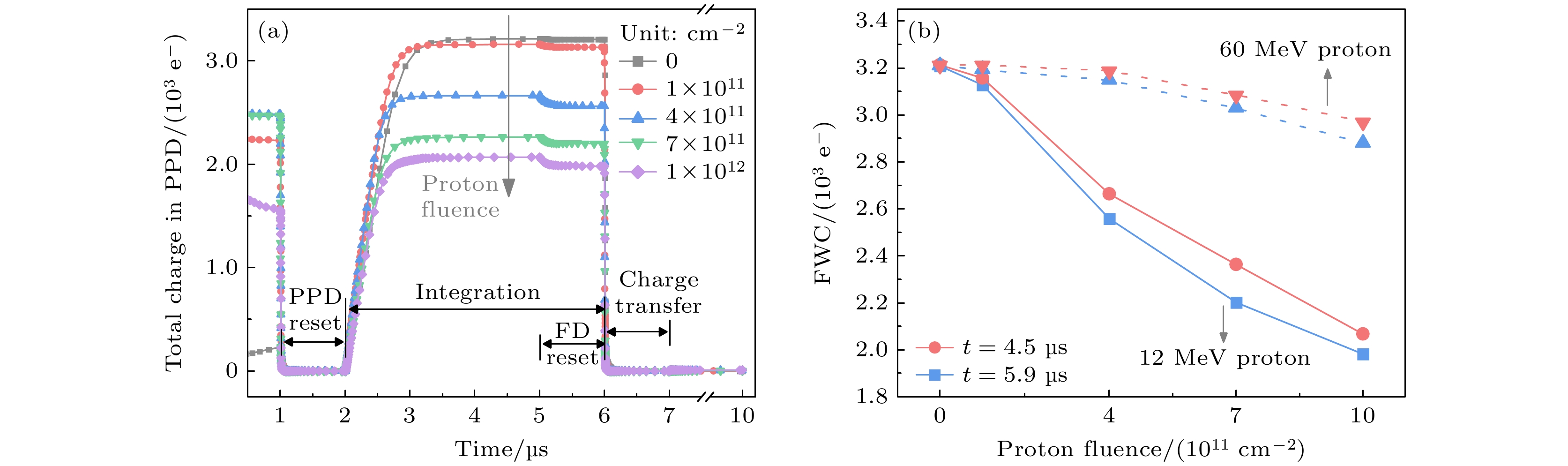
Complementary metal oxide semiconductor (CMOS) image sensors have been increasingly widely used in the field of radiation environments due to their numerous advantages, and their radiation effects have also attracted much attention. Some experimental studies have shown that the saturation output of CMOS image sensors decreases after irradiation, while others have reported that it increases. In this work, the further in-depth research on the inconsistent results is conducted based on the proton irradiation experiments and TCAD simulations, and the degradation mechanism in full well capacity, conversion factor, and saturation output of the 4T pinned photodiode (PPD) CMOS image sensors due to proton cumulative radiation effects are also analyzed. In experiments, the sensors are irradiated by 12 MeV and 60 MeV protons with a fluence up to 2× 1012 cm–2. The sensors are unbiased during irradiation. The experimental results show that proton irradiation at 12 MeV and 60 MeV result in an increase of 8.2% and 7.3% in conversion factor, respectively, and a decrease of 7.3% and 3.8% in full well capacity, respectively. The saturation output shows no significant change trend under 12 MeV proton irradiation, but increases by 3% under 60 MeV proton irradiation. In the TCAD simulation, a three-dimensional 4T PPD pixel model is constructed. A simulation method that combines the trap and gamma radiation model in TCAD with the mathematical model of minority carrier lifetime is used to simulate global and local cumulative proton irradiation in order to analyze the degradation mechanism. It is proposed that the degradation of saturation output at the pixel level is determined by the full well capacity of PPD, the physical characteristics of the reset transistor and the capacitance of floating diffusion, but they have opposite effects. Proton irradiation leads to the accumulation of oxide-trapped positive charges in the shallow trench isolation on both sides of PPD, resulting in the formation of leakage current path in silicon, thereby reducing the full well capacity. A decrease in full well capacity leads to a decrease in saturation output. While, the radiation effect of the reset transistor causes the potential of floating diffusion (FD) to increase during the FD reset phase, further leading to an increase in saturation output. The irradiation causes the capacitance of the floating diffusion to decrease, resulting in an increase in conversion factor and consequently increasing the saturation output. The difference in radiation sensitivity among the three influence factors at the pixel level may result in a decrease or increase in saturation output with proton fluence increasing. The above work comprehensively reveals and analyzes the mechanisms of degradation in full well capacity, conversion factor and saturation output after irradiation, and the research results have certain guiding significance for analyzing the radiation damage to CMOS image sensors.
Complementary metal oxide semiconductor (CMOS) image sensors have been increasingly widely used in the field of radiation environments due to their numerous advantages, and their radiation effects have also attracted much attention. Some experimental studies have shown that the saturation output of CMOS image sensors decreases after irradiation, while others have reported that it increases. In this work, the further in-depth research on the inconsistent results is conducted based on the proton irradiation experiments and TCAD simulations, and the degradation mechanism in full well capacity, conversion factor, and saturation output of the 4T pinned photodiode (PPD) CMOS image sensors due to proton cumulative radiation effects are also analyzed. In experiments, the sensors are irradiated by 12 MeV and 60 MeV protons with a fluence up to 2× 1012 cm–2. The sensors are unbiased during irradiation. The experimental results show that proton irradiation at 12 MeV and 60 MeV result in an increase of 8.2% and 7.3% in conversion factor, respectively, and a decrease of 7.3% and 3.8% in full well capacity, respectively. The saturation output shows no significant change trend under 12 MeV proton irradiation, but increases by 3% under 60 MeV proton irradiation. In the TCAD simulation, a three-dimensional 4T PPD pixel model is constructed. A simulation method that combines the trap and gamma radiation model in TCAD with the mathematical model of minority carrier lifetime is used to simulate global and local cumulative proton irradiation in order to analyze the degradation mechanism. It is proposed that the degradation of saturation output at the pixel level is determined by the full well capacity of PPD, the physical characteristics of the reset transistor and the capacitance of floating diffusion, but they have opposite effects. Proton irradiation leads to the accumulation of oxide-trapped positive charges in the shallow trench isolation on both sides of PPD, resulting in the formation of leakage current path in silicon, thereby reducing the full well capacity. A decrease in full well capacity leads to a decrease in saturation output. While, the radiation effect of the reset transistor causes the potential of floating diffusion (FD) to increase during the FD reset phase, further leading to an increase in saturation output. The irradiation causes the capacitance of the floating diffusion to decrease, resulting in an increase in conversion factor and consequently increasing the saturation output. The difference in radiation sensitivity among the three influence factors at the pixel level may result in a decrease or increase in saturation output with proton fluence increasing. The above work comprehensively reveals and analyzes the mechanisms of degradation in full well capacity, conversion factor and saturation output after irradiation, and the research results have certain guiding significance for analyzing the radiation damage to CMOS image sensors.
2025, 74(2): 024701.
doi: 10.7498/aps.74.20241307
Abstract:
In the re-entry process of the vehicle into the atmosphere, the high-temperature environment, induced by the compression of the strong shock wave and viscous retardation, is created around the head of a vehicle. These generate a conductive plasma flow field, which provides a direct working environment for the application of magnetohydrodynaimic (MHD) control technology. Numerical simulations based on thermochemical non-equilibrium MHD model are adopted to analyze the surface heat flux of an orbital reentry experiment (OREX) vehicle. The influences of wall catalytic conditions on the aerothermal environment under different flight conditions are discussed. In addition, the control mechanism of an external magnetic field on high-temperature thermochemical non-equilibrium flow field is analyzed. The results show that the distribution of surface heat flux monotonically increases with the catalytic recombination coefficient increasing, and the surface heat flux rises and then drops with the flight altitude decreasing. Moreover, the wall catalytic properties significantly affect the efficiency of MHD control technology, and the total heat flux is closely related to the accumulation of atomic components, diffusion gradient and temperature gradient near the wall region. With an external magnetic field applied, the accumulation of oxygen atoms and nitrogen atoms near the wall can be reduced. Moreover, the Lorentz force can increase the shock standoff distance, and then reduce the component diffusion gradient and wall temperature gradient. Under three different wall catalytic conditions, the ability to control the surface heat flux MHD is ranked from strong to weak as fully catalyzed, partially catalyzed and non-catalyzed.
In the re-entry process of the vehicle into the atmosphere, the high-temperature environment, induced by the compression of the strong shock wave and viscous retardation, is created around the head of a vehicle. These generate a conductive plasma flow field, which provides a direct working environment for the application of magnetohydrodynaimic (MHD) control technology. Numerical simulations based on thermochemical non-equilibrium MHD model are adopted to analyze the surface heat flux of an orbital reentry experiment (OREX) vehicle. The influences of wall catalytic conditions on the aerothermal environment under different flight conditions are discussed. In addition, the control mechanism of an external magnetic field on high-temperature thermochemical non-equilibrium flow field is analyzed. The results show that the distribution of surface heat flux monotonically increases with the catalytic recombination coefficient increasing, and the surface heat flux rises and then drops with the flight altitude decreasing. Moreover, the wall catalytic properties significantly affect the efficiency of MHD control technology, and the total heat flux is closely related to the accumulation of atomic components, diffusion gradient and temperature gradient near the wall region. With an external magnetic field applied, the accumulation of oxygen atoms and nitrogen atoms near the wall can be reduced. Moreover, the Lorentz force can increase the shock standoff distance, and then reduce the component diffusion gradient and wall temperature gradient. Under three different wall catalytic conditions, the ability to control the surface heat flux MHD is ranked from strong to weak as fully catalyzed, partially catalyzed and non-catalyzed.
2025, 74(2): 024702.
doi: 10.7498/aps.74.20241487
Abstract:
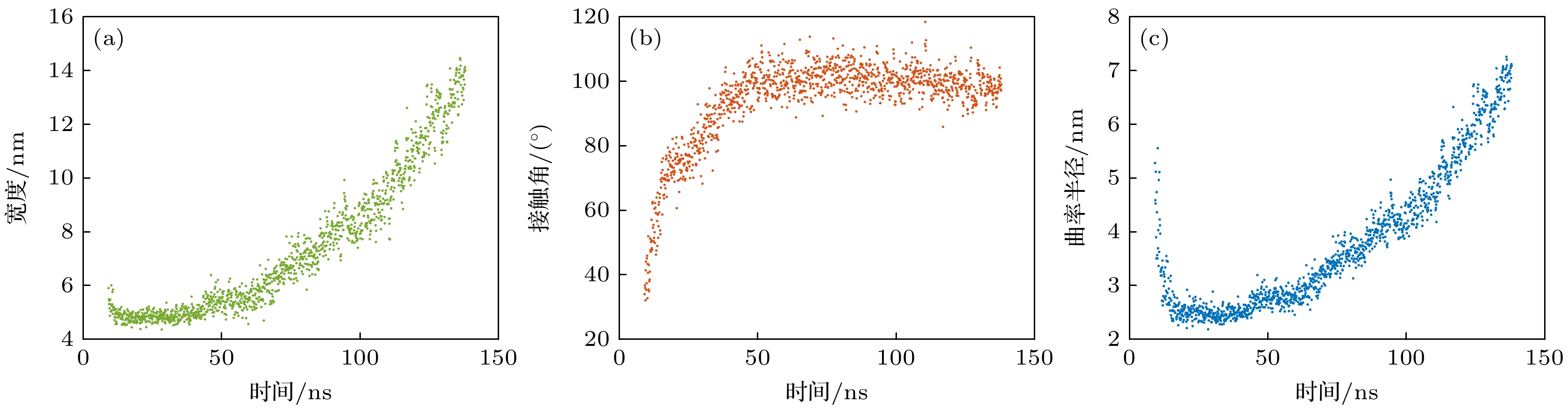
The interfacial nanobubbles (INBs) have been confirmed to exist, and have significant potential for applications in fields such as mineral flotation, aquaculture, and wastewater treatment. However, the microscopic nucleation process of INBs is still poorly understood. This study investigates the nucleation process and growth dynamics of INBs on smooth and rough surfaces under different levels of gas supersaturation. Molecular dynamics (MD) simulations using GROMACS software package are conducted to observe the microscopic nucleation process and the temporal evolution of the geometric characteristics of the INBs. Additionally, a growth dynamics model for INBs is derived based on the Epstein-Plesset gas diffusion theory, and the predictions from the model are compared with the MD simulation data. The results indicate that on smooth homogeneous surfaces, the curvature radius and width of INBs increase progressively with time after nucleation. This growth process is well captured by the theoretical model, indicating that the gas diffusion theory provides an accurate description of INB growth dynamics. In addition, the contact angle (measured on the gas side) during INB growth is not constant but increases initially before stabilizing. This phenomenon is caused by reducing solid-gas interfacial tension due to higher Laplace pressure, thus leading the contact angle to increase as the INB radius grows. Furthermore, on smooth homogeneous surfaces, INBs are observed to nucleate at 81, 17, 6, and 1.3 ns under gas supersaturation levels of 100, 120, 150, and 200, respectively. This demonstrates that higher gas supersaturation significantly shortens the nucleation time. Additionally, as gas supersaturation increases, the growth rate of INBs after nucleation will also accelerate. However, at a gas supersaturation level of 50, no nucleation occurrs during the simulation period of 200 ns. Theoretical analysis reveals that the INBs can only nucleate and grow when the radius of gas aggregates exceeds the critical nucleation radius (\begin{document}$ {R}_{{\mathrm{critical}}} = {\sigma }/({\zeta {P}_{0}}) $\end{document} , where \begin{document}$ \sigma $\end{document} is the liquid-gas interfacial tension, \begin{document}$ \zeta $\end{document} is the gas supersaturation level, and \begin{document}$ {P}_{0} $\end{document} is the ambient pressure). As gas supersaturation decreases, \begin{document}$ {R}_{{\mathrm{c}}{\mathrm{r}}{\mathrm{i}}{\mathrm{t}}{\mathrm{i}}{\mathrm{c}}{\mathrm{a}}{\mathrm{l}}} $\end{document} increases, thus significantly increasing the difficulty of nucleation. On rough surfaces, pits with widths of 1, 2, 4, and 10 nm are introduced. At a gas supersaturation of 50, where no INB nucleation occurrs on the smooth surfaces, gas nuclei rapidly form within the pits. However, only gas nuclei in pits with widths larger than 2 nm can grow into INBs. This is because in the growth process the pinning effect at the pit edges causes the curvature radius of the gas nucleus to initially decrease and then increase. Only when the minimum curvature radius exceeds the critical nucleation radius, can gas nuclei develop into INBs. The findings of this study provide more in-depth insights into the nucleation mechanism of INBs, and practical guidance for controlling their generation, and they also deliver theoretical support for relevant applications such as mineral flotation and other industrial processes.
2025, 74(2): 025201.
doi: 10.7498/aps.74.20241330
Abstract:
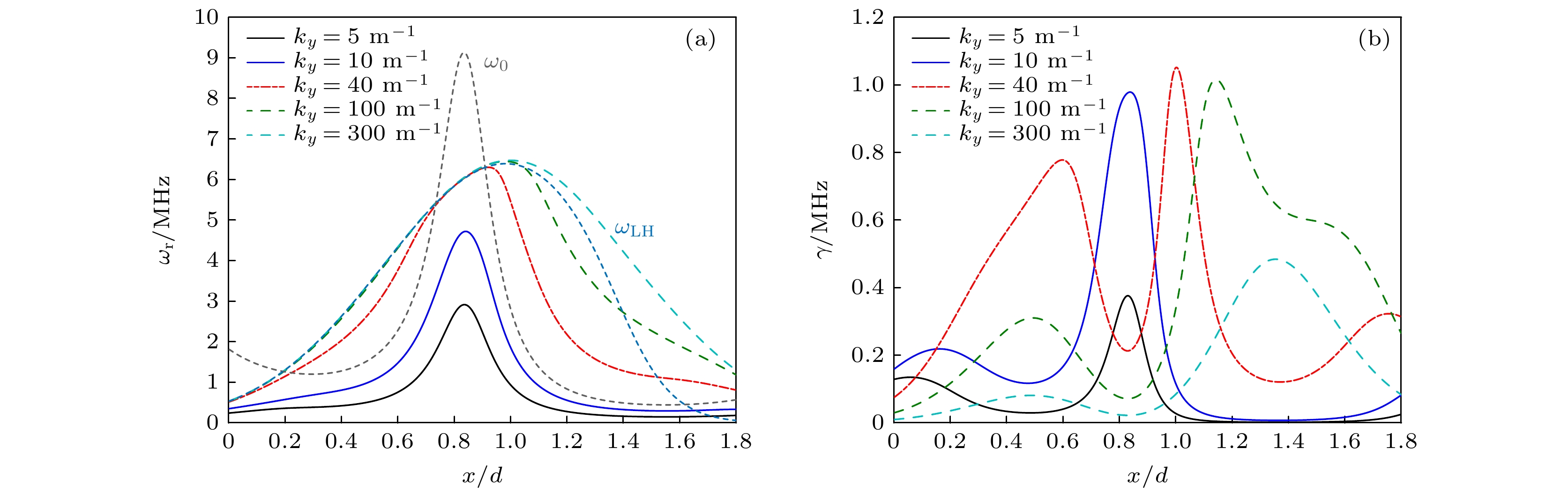
The free energy contained in electron drift, electron collision, and plasma density gradient, temperature, magnetic field gradient can trigger off the instabilities with different frequencies and wavelengths in hall thrusters. The instabilities will destroy the stable discharge of plasma, affecting the matching degree between the thruster and the power processing unit, and reducing the performance of the thruster. Based on this, the instabilities triggered off by electron collision, plasma density gradient, and magnetic field gradient in the hall thruster are studied by using dispersion relation derived from the fluid model. The results are shown below. 1) When in the model includes the effects of electron inertia, collision between electrons and neutral atoms, and electron drift, instability can be excited at any axial position from the near anode region to the plume region of the thruster. With the increase of azimuthal wavenumber\begin{document}${k_y} = 2\pi /\lambda $\end{document} , the lower-hybrid mode excited by electron collision transitions into the ion sound mode, where \begin{document}${k_y} = 2{\text{π }}/\lambda $\end{document} , \begin{document}$\lambda $\end{document} being the wave length. The real frequency \begin{document}${\omega _{\text{r}}}$\end{document} corresponding to the maximum growth rate \begin{document}${\gamma _{\max }}$\end{document} slightly decreases with collision frequency increasing for \begin{document}${k_y} = 10{\text{ }}{{\text{ m}}^{ - 1}}$\end{document} . However, the maximum real frequency and real frequency \begin{document}${\omega _{\text{r}}}$\end{document} corresponding to the maximum growth rate \begin{document}${k_y} = 300{{\text{ m}}^{ - 1}}$\end{document} will not change with collision frequency for \begin{document}${k_y} = 300{\text{ }}{{\text{ m}}^{ - 1}}$\end{document} . Independent of the value of \begin{document}${k_y}$\end{document} , the growth rate of mode triggered off by electron collision increases with collision frequency increasing. 2) The plasma density gradient effect plays a dominant role in triggering off instabilities when the electron inertia, electron-neutral collisions and plasma density gradient are simultaneously included in the model. The dynamic behavior of the model does not change with the increase of \begin{document}${k_y}$\end{document} , but the eigenvalue of the model increases with the \begin{document}${k_y}$\end{document} increasing. Since the sign of anti-drift frequency induced by the plasma density gradient is changed, the mode eigenvalues have the opposite change trend on both sides of point \begin{document}${\kappa _{\text{N}}}$\end{document} . When the sign of \begin{document}${\omega _r}$\end{document} and \begin{document}${\omega _r}$\end{document} are opposite, the density gradient effect has a stabilization effect on instability excitation (\begin{document}${\kappa _{\text{N}}} > 0$\end{document} ). When the sign of \begin{document}${\omega _{\text{s}}}$\end{document} and \begin{document}${\omega _{\text{r}}}$\end{document} are the same, the density gradient effect enhances the excitation of instability (\begin{document}${\kappa _{\text{N}}} < 0$\end{document} ). 3) If the plasma density gradient, magnetic field gradient, electron inertia and electron-neutral collisions are included in the dispersion, the mode eigenvalue relies on the electron drift frequency, and the diamagnetic drift frequency induced by the density gradient and magnetic field gradient. When the density gradient effect and the magnetic field gradient effect are considered, there is a stable window in the discharge channel. However, if the electron inertia and electron-neutral collisions are also included, the stable window will disappear.
The free energy contained in electron drift, electron collision, and plasma density gradient, temperature, magnetic field gradient can trigger off the instabilities with different frequencies and wavelengths in hall thrusters. The instabilities will destroy the stable discharge of plasma, affecting the matching degree between the thruster and the power processing unit, and reducing the performance of the thruster. Based on this, the instabilities triggered off by electron collision, plasma density gradient, and magnetic field gradient in the hall thruster are studied by using dispersion relation derived from the fluid model. The results are shown below. 1) When in the model includes the effects of electron inertia, collision between electrons and neutral atoms, and electron drift, instability can be excited at any axial position from the near anode region to the plume region of the thruster. With the increase of azimuthal wavenumber
2025, 74(2): 025202.
doi: 10.7498/aps.74.20241241
Abstract:
The streamer propagation and electric field distribution in a two-dimensional fluid model of a packed bed reactor (PBR) filled with carbon dioxide are comprehensively studied by utilizing the PASSKEy simulation platform in this work. The spatiotemporal evolution of electron density, electric fields and key plasma species in the discharge process are studied in depth. The PBR with layered dielectric spheres is simulated by using the model, indicating that the inner sides of the first layer and the second layer of dielectric spheres are not the main regions for reactions such as CO2 dissociation; instead, the main regions are along the streamer propagation path and the outer side of the first layer of dielectric sphere. In this work, the propagation of streamers in an electric field is investigated, highlighting the influence of anode voltage rise and dielectric polarization on local electric field enhancement. This enhancement leads the electron density and temperature to increase, which facilitats streamer propagation and the formation of filamentary microdischarges and surface ionization waves. This work provides a detailed analysis of the local electric field evolution at specific points within the PBR, and a further investigation of the spatiotemporal dynamics of spatial and surface charges, revealing that negative charges concentrate in the streamer and on the dielectric surface, with density being significantly higher than that of positive charges. The positive charge distribution is closely related to the streamer path, and with time going by, the charge distribution becomes dominated in the discharge space. This work also explores the surface charge deposition on the dielectric spheres, and discusses the evolution trend of the distribution. Additionally, this work discusses the temporal and spatial evolution of key plasma species, including ions and radicals, and their contributions to the overall discharge characteristics. The production mechanisms of carbon monoxide particles, carbon dioxide ions, and oxygen ions are analyzed, with a focus on their spatial distribution and correlation with electron density. Finally, the energy deposition within the PBR is examined by integrating the spatial energy deposition of electrons and major positive ions. The results indicate a total energy deposition value of approximately 1.428 mJ/m, with carbon dioxide ions accounting for 8.8% of this value.
The streamer propagation and electric field distribution in a two-dimensional fluid model of a packed bed reactor (PBR) filled with carbon dioxide are comprehensively studied by utilizing the PASSKEy simulation platform in this work. The spatiotemporal evolution of electron density, electric fields and key plasma species in the discharge process are studied in depth. The PBR with layered dielectric spheres is simulated by using the model, indicating that the inner sides of the first layer and the second layer of dielectric spheres are not the main regions for reactions such as CO2 dissociation; instead, the main regions are along the streamer propagation path and the outer side of the first layer of dielectric sphere. In this work, the propagation of streamers in an electric field is investigated, highlighting the influence of anode voltage rise and dielectric polarization on local electric field enhancement. This enhancement leads the electron density and temperature to increase, which facilitats streamer propagation and the formation of filamentary microdischarges and surface ionization waves. This work provides a detailed analysis of the local electric field evolution at specific points within the PBR, and a further investigation of the spatiotemporal dynamics of spatial and surface charges, revealing that negative charges concentrate in the streamer and on the dielectric surface, with density being significantly higher than that of positive charges. The positive charge distribution is closely related to the streamer path, and with time going by, the charge distribution becomes dominated in the discharge space. This work also explores the surface charge deposition on the dielectric spheres, and discusses the evolution trend of the distribution. Additionally, this work discusses the temporal and spatial evolution of key plasma species, including ions and radicals, and their contributions to the overall discharge characteristics. The production mechanisms of carbon monoxide particles, carbon dioxide ions, and oxygen ions are analyzed, with a focus on their spatial distribution and correlation with electron density. Finally, the energy deposition within the PBR is examined by integrating the spatial energy deposition of electrons and major positive ions. The results indicate a total energy deposition value of approximately 1.428 mJ/m, with carbon dioxide ions accounting for 8.8% of this value.
2025, 74(2): 027501.
doi: 10.7498/aps.74.20241340
Abstract:
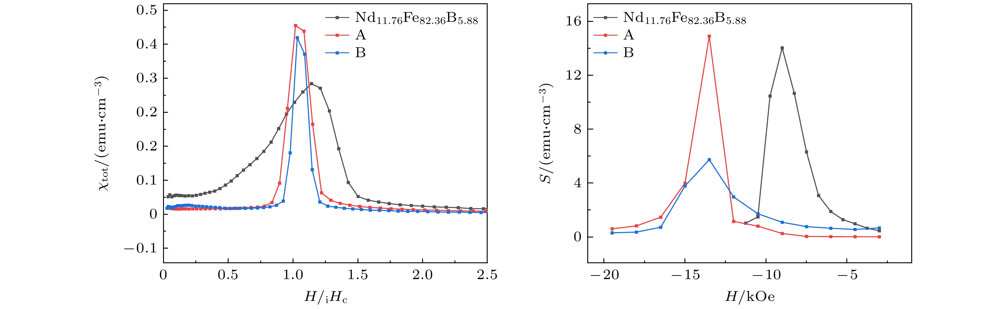
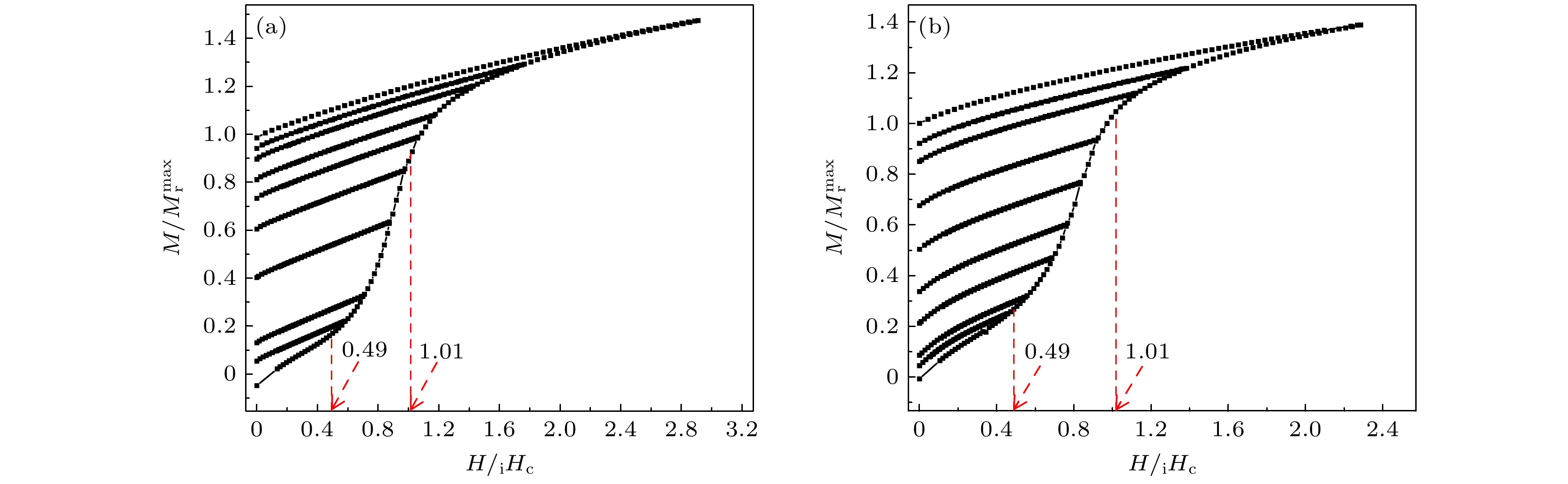
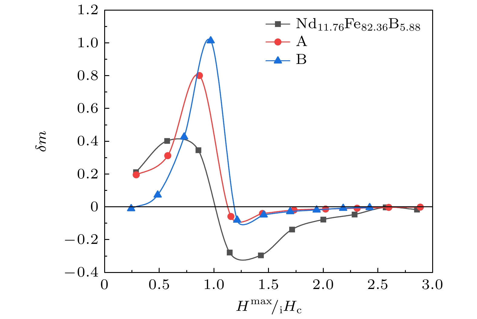
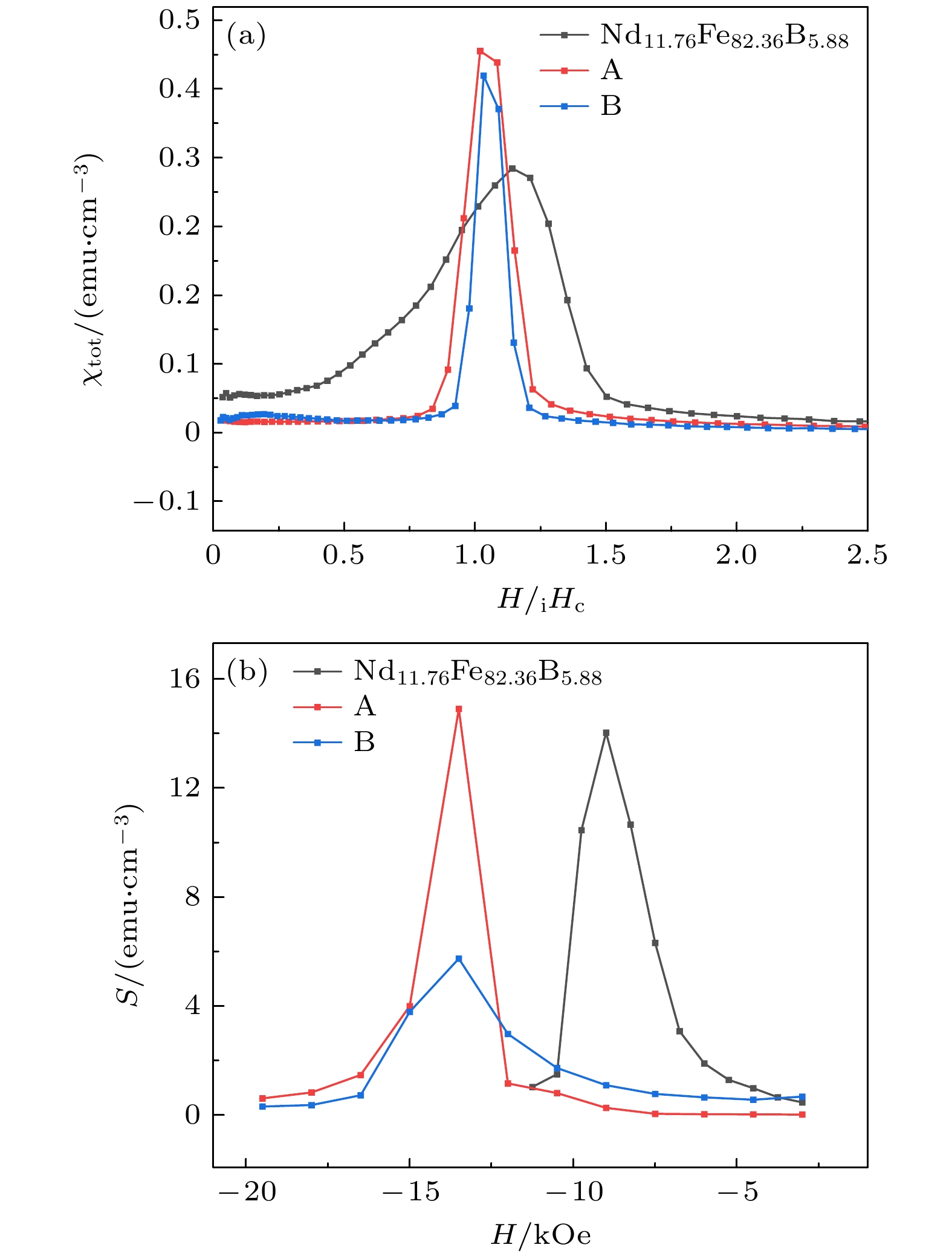
Rare-earth elements share similar ground-state electronic properties, and their unique lanthanide contraction effect can lower the mixing enthalpy of rare-earth elements in high-entropy materials, which is of great significance for fabricating low-cost and high-performance high-entropy rare-earth intermetallic compounds. In this work, the magnetization reversal mechanisms of rapidly quenched ribbons such as Nd11.76Fe82.36B5.88 (NdFeB) and the relevant high-entropy rare-earth permanent magnet alloy compounds (La0.2Pr0.2Nd0.2Gd0.2Dy0.2)11.76Fe82.36B5.88 and (La0.2Pr0.2Nd0.2Gd0.2Tb0.2)11.76Fe82.36B5.88 are studied by analyzing the magnetization and demagnetization curves, supplemented by Henkel curves and magnetic viscosity coefficient S. Compared with the pure NdFeB sample, the high-entropy rare-earth permanent magnet has the inter-grain exchange coupling significantly enhanced and the magnetic dipole interaction weakened, indicating that the element diffusion mechanism in heavy rare-earth containing high-entropy material homogenizes the sample, and significantly increases the coercivity. The mechanism of the coercivity is the nucleation of magnetization reversal domains in the grains of the hard magnetic phase. The magnetization mechanism is dominated by pinning at low magnetic fields and by nucleation at high magnetic fields, which is different from the magnetization mechanism of pure NdFeB and has some similarities with the self-pinning mechanism. The magnetic viscosity coefficient of (La0.2Pr0.2Nd0.2Gd0.2Dy0.2)11.76Fe82.36B5.88 is larger than that of pure NdFeB. Due to the asynchrony of hard magnetic phase reversal and intergranular magnetic coupling in (La0.2Pr0.2Nd0.2Gd0.2Tb0.2)11.76Fe82.36B5.88, the magnetic viscosity coefficient is small but the anisotropy field is large. This indicates that high-entropy sample reduces the magnetocrystalline anisotropy field barrier but increases the magnetocrystalline coupling length. This suggests that the magnetization reversal of high-entropy rare-earth permanent magnet material is significantly different from that of conventional rare earth permanent magnet material and it is worthy of further in-depth research.
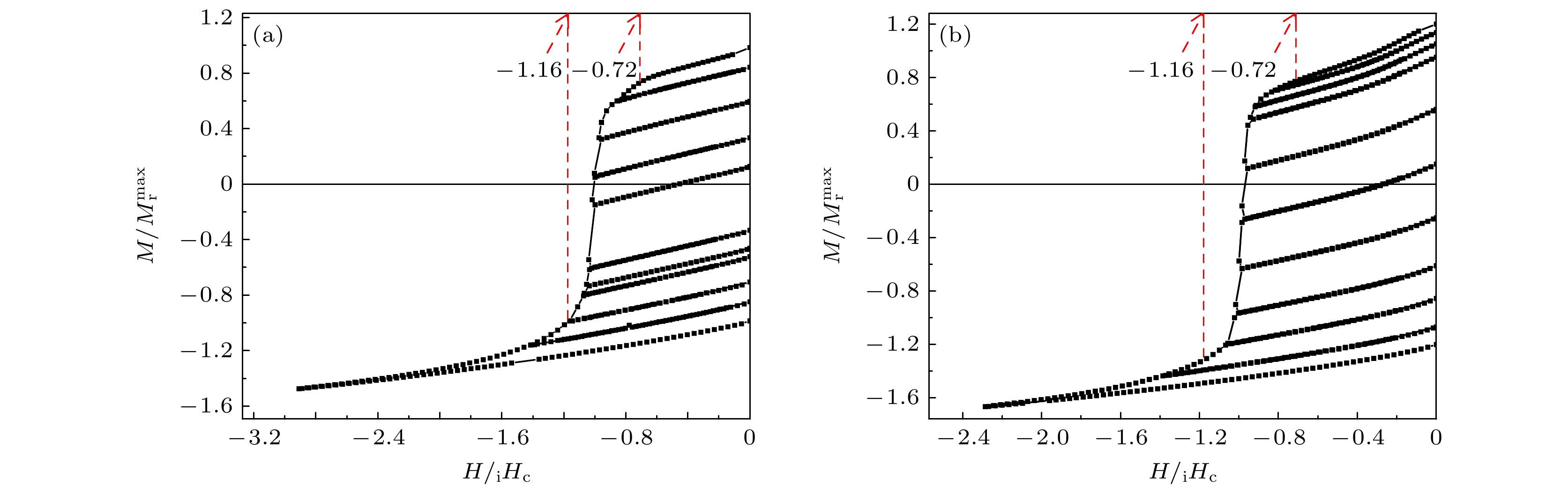
Rare-earth elements share similar ground-state electronic properties, and their unique lanthanide contraction effect can lower the mixing enthalpy of rare-earth elements in high-entropy materials, which is of great significance for fabricating low-cost and high-performance high-entropy rare-earth intermetallic compounds. In this work, the magnetization reversal mechanisms of rapidly quenched ribbons such as Nd11.76Fe82.36B5.88 (NdFeB) and the relevant high-entropy rare-earth permanent magnet alloy compounds (La0.2Pr0.2Nd0.2Gd0.2Dy0.2)11.76Fe82.36B5.88 and (La0.2Pr0.2Nd0.2Gd0.2Tb0.2)11.76Fe82.36B5.88 are studied by analyzing the magnetization and demagnetization curves, supplemented by Henkel curves and magnetic viscosity coefficient S. Compared with the pure NdFeB sample, the high-entropy rare-earth permanent magnet has the inter-grain exchange coupling significantly enhanced and the magnetic dipole interaction weakened, indicating that the element diffusion mechanism in heavy rare-earth containing high-entropy material homogenizes the sample, and significantly increases the coercivity. The mechanism of the coercivity is the nucleation of magnetization reversal domains in the grains of the hard magnetic phase. The magnetization mechanism is dominated by pinning at low magnetic fields and by nucleation at high magnetic fields, which is different from the magnetization mechanism of pure NdFeB and has some similarities with the self-pinning mechanism. The magnetic viscosity coefficient of (La0.2Pr0.2Nd0.2Gd0.2Dy0.2)11.76Fe82.36B5.88 is larger than that of pure NdFeB. Due to the asynchrony of hard magnetic phase reversal and intergranular magnetic coupling in (La0.2Pr0.2Nd0.2Gd0.2Tb0.2)11.76Fe82.36B5.88, the magnetic viscosity coefficient is small but the anisotropy field is large. This indicates that high-entropy sample reduces the magnetocrystalline anisotropy field barrier but increases the magnetocrystalline coupling length. This suggests that the magnetization reversal of high-entropy rare-earth permanent magnet material is significantly different from that of conventional rare earth permanent magnet material and it is worthy of further in-depth research.
2025, 74(2): 028101.
doi: 10.7498/aps.74.20241294
Abstract:
Although phosphorescent organic light-emitting devices (OLEDs) can have an internal quantum efficiency (IQE) of 100%, the IQE usually decays at high current densities due to triplet-triplet annihilation. Phosphor-sensitized fluorescence can realize the energy transfer between phosphorescent emitter and fluorescent emitter, and can be used to suppress the efficiency fluctuations and adjust the color of the device. With this in mind, white light emission including different colors of phosphorescent emitter and fluorescent emitter can be expected. Herein, phosphor-sensitized fluorescent white OLEDs are fabricated by combining ultra-thin layer insertion and doping, in which laser dyes DCM (4-(Dicyanomethylene)-2-methyl-6-(4-dimethyl-aminostyryl)-4H-pyran), iridium complexes Ir(ppy)3 (tris(2-phenylpyridine)iridium), and biphenyl ethylene derivatives BCzVB (1,4-bis[2- (3-N-ethylcarbazoryl)vinyl]benzene) are used as red, green and blue emitters, respectively. By adjusting the doping concentration of Ir(ppy)3 phosphorescent green emitter in CBP (4,4’-N,N’-dicarbazole-biphyenyl) host, with ultra-thin layers of BCzVB fluorescent blue emitter on both sides of CBP:Ir(ppy)3 doping system and with ultra-thin layer of DCM fluorescent red emitter inserting in CBP:Ir(ppy)3 layer, the three colors can be balanced. White emissions are obtained in the device, the highest external quantum efficiency is 2.5% (current efficiency of 5.1 cd/A), the maximum brightness is 12400 cd/m2, and Commission Internationale de l'Eclairage (CIE) co-ordinates can reach the ideal white light equilibrium point (0.33, 0.33) at a current density of 1 mA/cm2. The acquisition of white light is attributed to the appropriate doping ratio of Ir(ppy)3 and the position of DCM, which effectively balances the emission ratio of three primary colors: red, green, and blue. The results indicate that the partially energy transfer of triplet excitons to singlet excitons by phosphor-sensitized fluorescence scheme can be used to realize high-efficiency white organic electroluminescent devices, thereby reducing energy consumption and providing more room for promoting OLED applications.
Although phosphorescent organic light-emitting devices (OLEDs) can have an internal quantum efficiency (IQE) of 100%, the IQE usually decays at high current densities due to triplet-triplet annihilation. Phosphor-sensitized fluorescence can realize the energy transfer between phosphorescent emitter and fluorescent emitter, and can be used to suppress the efficiency fluctuations and adjust the color of the device. With this in mind, white light emission including different colors of phosphorescent emitter and fluorescent emitter can be expected. Herein, phosphor-sensitized fluorescent white OLEDs are fabricated by combining ultra-thin layer insertion and doping, in which laser dyes DCM (4-(Dicyanomethylene)-2-methyl-6-(4-dimethyl-aminostyryl)-4H-pyran), iridium complexes Ir(ppy)3 (tris(2-phenylpyridine)iridium), and biphenyl ethylene derivatives BCzVB (1,4-bis[2- (3-N-ethylcarbazoryl)vinyl]benzene) are used as red, green and blue emitters, respectively. By adjusting the doping concentration of Ir(ppy)3 phosphorescent green emitter in CBP (4,4’-N,N’-dicarbazole-biphyenyl) host, with ultra-thin layers of BCzVB fluorescent blue emitter on both sides of CBP:Ir(ppy)3 doping system and with ultra-thin layer of DCM fluorescent red emitter inserting in CBP:Ir(ppy)3 layer, the three colors can be balanced. White emissions are obtained in the device, the highest external quantum efficiency is 2.5% (current efficiency of 5.1 cd/A), the maximum brightness is 12400 cd/m2, and Commission Internationale de l'Eclairage (CIE) co-ordinates can reach the ideal white light equilibrium point (0.33, 0.33) at a current density of 1 mA/cm2. The acquisition of white light is attributed to the appropriate doping ratio of Ir(ppy)3 and the position of DCM, which effectively balances the emission ratio of three primary colors: red, green, and blue. The results indicate that the partially energy transfer of triplet excitons to singlet excitons by phosphor-sensitized fluorescence scheme can be used to realize high-efficiency white organic electroluminescent devices, thereby reducing energy consumption and providing more room for promoting OLED applications.
2025, 74(2): 028102.
doi: 10.7498/aps.74.20241438
Abstract:
Diamond nitrogen vacancy (NV) color centers have good stability at room temperature and long electron spin coherence time, and can be manipulated by lasers and microwaves, thereby becoming the most promising structure in the field of quantum detection. Within a certain range, the higher the concentration of NV color centers, the higher the sensitivity of detecting physical quantities is. Therefore, it is necessary to dope sufficient nitrogen atoms into diamond single crystals to form high-concentration NV color centers. In this study, diamond single crystals with different nitrogen content are prepared by microwave plasma chemical vapor deposition (MPCVD) to construct high-concentration NV color centers. By doping different amounts of nitrogen atoms into the precursor gas, many problems encountered during long-time growth of diamond single crystals under high nitrogen conditions are solved. Diamond single crystals with nitrogen content of about 0.205, 5, 8, 11, 15, 36, and 54 ppm (1 ppm = 10–6) are prepared. As the nitrogen content increases, the width of the step flow on the surface of the diamond single crystal gradually widens, eventually the step flow gradually disappears and the surface becomes smooth. Under the experimental conditions in this study, it is preliminarily determined that the average ratio of the nitrogen content in the precursor gas to the nitrogen atom content introduced into the diamond single crystal lattice is about 11. Fourier transform infrared spectroscopy shows that as the nitrogen content inside the CVD diamond single crystal increases, the density of vacancy defects also increases. Therefore, the color of CVD high nitrogen diamond single crystals ranges from light brown to brownish black. Compared with HPHT diamond single crystal, the CVD high nitrogen diamond single crystal has a weak intensity of absorption peak at 1130 cm–1 and no absorption peak at 1280 cm–1. Three obvious nitrogen-related absorption peaks at 1371, 1353, and 1332 cm–1 of the CVD diamond single crystal are displayed. Nitrogen atoms mainly exist in the form of aggregated nitrogen and single substitutional N+ in diamond single crystals, rather than in the form of C-defect. The PL spectrum results show that defects such as vacancies inside the diamond single crystal with nitrogen content of 54 ppm are significantly increased after electron irradiation, leading to a remarkable increase in the concentration of NV color centers. The magnetic detection performance of the NV color center material after irradiation is verified, and the fluorescence intensity is uniformly distributed in the sample surface. The diamond single crystal with nitrogen content of 54 ppm has good microwave spin manipulation, and its longitudinal relaxation time is about 3.37 ms.
Diamond nitrogen vacancy (NV) color centers have good stability at room temperature and long electron spin coherence time, and can be manipulated by lasers and microwaves, thereby becoming the most promising structure in the field of quantum detection. Within a certain range, the higher the concentration of NV color centers, the higher the sensitivity of detecting physical quantities is. Therefore, it is necessary to dope sufficient nitrogen atoms into diamond single crystals to form high-concentration NV color centers. In this study, diamond single crystals with different nitrogen content are prepared by microwave plasma chemical vapor deposition (MPCVD) to construct high-concentration NV color centers. By doping different amounts of nitrogen atoms into the precursor gas, many problems encountered during long-time growth of diamond single crystals under high nitrogen conditions are solved. Diamond single crystals with nitrogen content of about 0.205, 5, 8, 11, 15, 36, and 54 ppm (1 ppm = 10–6) are prepared. As the nitrogen content increases, the width of the step flow on the surface of the diamond single crystal gradually widens, eventually the step flow gradually disappears and the surface becomes smooth. Under the experimental conditions in this study, it is preliminarily determined that the average ratio of the nitrogen content in the precursor gas to the nitrogen atom content introduced into the diamond single crystal lattice is about 11. Fourier transform infrared spectroscopy shows that as the nitrogen content inside the CVD diamond single crystal increases, the density of vacancy defects also increases. Therefore, the color of CVD high nitrogen diamond single crystals ranges from light brown to brownish black. Compared with HPHT diamond single crystal, the CVD high nitrogen diamond single crystal has a weak intensity of absorption peak at 1130 cm–1 and no absorption peak at 1280 cm–1. Three obvious nitrogen-related absorption peaks at 1371, 1353, and 1332 cm–1 of the CVD diamond single crystal are displayed. Nitrogen atoms mainly exist in the form of aggregated nitrogen and single substitutional N+ in diamond single crystals, rather than in the form of C-defect. The PL spectrum results show that defects such as vacancies inside the diamond single crystal with nitrogen content of 54 ppm are significantly increased after electron irradiation, leading to a remarkable increase in the concentration of NV color centers. The magnetic detection performance of the NV color center material after irradiation is verified, and the fluorescence intensity is uniformly distributed in the sample surface. The diamond single crystal with nitrogen content of 54 ppm has good microwave spin manipulation, and its longitudinal relaxation time is about 3.37 ms.
2025, 74(2): 028103.
doi: 10.7498/aps.74.20241581
Abstract:
Shrinkage cavities and porosity are the main defects generated in the solidification process of castings. These defects are caused by the alloy’s contraction during solidification, with the final solidified area not being effectively compensated for by the liquid metal, resulting in cavitation defects. Shrinkage cavities and porosity significantly reduce the mechanical properties of castings and shorten their service lives, thus necessitating appropriate process to eliminate them. Utilizing numerical simulation technology can effectively predict the shrinkage of castings during solidification and optimize the process based on simulation results, thereby reducing the occurrence of shrinkage defects, which is a low-cost and high-efficiency method. In this work, a machine learning-driven dynamic mesh model is established to simulate the dynamic shrinkage behavior of castings during solidification. Cellular automata are used to simulate the solidification process of castings, dynamically marking the displacement of boundary points and calculating the displacement of other grids using RBF neural network algorithms and support vector machine algorithms, thereby achieving the dynamic simulation of the solidification process. The model is used to simulate the shrinkage cavity morphology of the Al-4.7%Cu alloy solidification process, and corresponding casting experiments are designed for verification. Comparisons between simulation results and experimental results indicate that this coupled method can effectively capture the casting deformation caused by solidification shrinkage, the evolution of complex solid-liquid interface morphologies, and the deformation of internal grids within the castings. Compared with the experimental results, the simulation results have an error of no more than 2%, providing a new approach for numerically simulating the solidification process.
Shrinkage cavities and porosity are the main defects generated in the solidification process of castings. These defects are caused by the alloy’s contraction during solidification, with the final solidified area not being effectively compensated for by the liquid metal, resulting in cavitation defects. Shrinkage cavities and porosity significantly reduce the mechanical properties of castings and shorten their service lives, thus necessitating appropriate process to eliminate them. Utilizing numerical simulation technology can effectively predict the shrinkage of castings during solidification and optimize the process based on simulation results, thereby reducing the occurrence of shrinkage defects, which is a low-cost and high-efficiency method. In this work, a machine learning-driven dynamic mesh model is established to simulate the dynamic shrinkage behavior of castings during solidification. Cellular automata are used to simulate the solidification process of castings, dynamically marking the displacement of boundary points and calculating the displacement of other grids using RBF neural network algorithms and support vector machine algorithms, thereby achieving the dynamic simulation of the solidification process. The model is used to simulate the shrinkage cavity morphology of the Al-4.7%Cu alloy solidification process, and corresponding casting experiments are designed for verification. Comparisons between simulation results and experimental results indicate that this coupled method can effectively capture the casting deformation caused by solidification shrinkage, the evolution of complex solid-liquid interface morphologies, and the deformation of internal grids within the castings. Compared with the experimental results, the simulation results have an error of no more than 2%, providing a new approach for numerically simulating the solidification process.
2025, 74(2): 028104.
doi: 10.7498/aps.74.20240972
Abstract:
In this study, Sn-doped Ga2O3 thin films are prepared on sapphire substrate by radio frequency magnetron sputtering at ambient temperature, and then annealed at different temperatures (400–800 ℃) in nitrogen atmosphere. The corresponding metal-semiconductor-metal (MSM) solar blind photodetectors (PDs) are prepared based on those films before and after annealing to explore the influence of annealing temperature on the characteristics of the films and device properties. The results show that the as-deposited Sn-doped Ga2O3 film displays amorphous structure. With the increase of annealing temperature, the proportion of OL, Ga3+ and Sn4+ ions in the film increase, and the band gap of the film decreases slightly, indicating that the conductivity of the film is enhanced and the quality of the film is improved. When the annealing temperature increases to 700 ℃, the β-Ga2O3 (\begin{document}${\bar 402} $\end{document} ) crystal surface diffraction peak appeares, indicating that the film begins to crystallize. As the annealing temperature increases to 800 ℃, the proportion of OL, Ga3+ and Sn4+ decreases, and the quality and conductive properties of the film deteriorate, which may be attributed to Sn surface segregation and Al diffusion into the film from the substrate. In addition, the average particle size and surface roughness of the film surface increase with annealing temperature increasing, which is consistent with the changing trend of film characteristics. Then, based on Sn-doped Ga2O3 thin films before and after annealing, the MSM solar blind PDs are prepared to explore the influence of annealing temperature on device performance. The quality of the film and its conductive characteristics play a role in regulating the performance of Sn-doped Ga2O3 solar blind PD. The optimal device performance can be obtained when the annealing temperature is 700 ℃, with a low dark current of 89.97 pA, a responsivity of 18.4 mA/W, a light-dark current up to 1264, and the rise/fall time of 0.93 s/0.87 s. In summary, the annealing temperature has an important effect on the characteristics of Sn-doped Ga2O3 films and the performance of solar blind PDs, which has certain guiding significance for the preparation of high-quality Sn-doped Ga2O3 films and high-performance solar blind PDs.
In this study, Sn-doped Ga2O3 thin films are prepared on sapphire substrate by radio frequency magnetron sputtering at ambient temperature, and then annealed at different temperatures (400–800 ℃) in nitrogen atmosphere. The corresponding metal-semiconductor-metal (MSM) solar blind photodetectors (PDs) are prepared based on those films before and after annealing to explore the influence of annealing temperature on the characteristics of the films and device properties. The results show that the as-deposited Sn-doped Ga2O3 film displays amorphous structure. With the increase of annealing temperature, the proportion of OL, Ga3+ and Sn4+ ions in the film increase, and the band gap of the film decreases slightly, indicating that the conductivity of the film is enhanced and the quality of the film is improved. When the annealing temperature increases to 700 ℃, the β-Ga2O3 (
2025, 74(2): 028401.
doi: 10.7498/aps.74.20241549
Abstract:
Normal (n-i-p) perovskite solar cells (PSCs) have received increasing attention due to their advantages such as high conversion efficiency and good stability. Tin dioxide is an ideal electron transport layer material for normal perovskite solar cells. Among various available electron transport layers, tin dioxide stands out because of its excellent stability, low density of defect states, and appropriate energy levels. The interface defects between tin dioxide and perovskite are the key factors restricting the improvement of the conversion efficiency in perovskite solar cells. Therefore, a method of fabricating normal perovskite solar cells based on the buried interface modification strategy is proposed in this work. By doping methylammonium bromide into tin dioxide to form a buried interface, the interface defects between tin dioxide and perovskite are reduced, the electron mobility of tin dioxide is enhanced, and the growth of high-quality perovskite materials is promoted. The conversion efficiency of the normal perovskite solar cells reaches 23.12%, providing an effective strategy for fabricating high-efficiency normal perovskite solar cells.
Normal (n-i-p) perovskite solar cells (PSCs) have received increasing attention due to their advantages such as high conversion efficiency and good stability. Tin dioxide is an ideal electron transport layer material for normal perovskite solar cells. Among various available electron transport layers, tin dioxide stands out because of its excellent stability, low density of defect states, and appropriate energy levels. The interface defects between tin dioxide and perovskite are the key factors restricting the improvement of the conversion efficiency in perovskite solar cells. Therefore, a method of fabricating normal perovskite solar cells based on the buried interface modification strategy is proposed in this work. By doping methylammonium bromide into tin dioxide to form a buried interface, the interface defects between tin dioxide and perovskite are reduced, the electron mobility of tin dioxide is enhanced, and the growth of high-quality perovskite materials is promoted. The conversion efficiency of the normal perovskite solar cells reaches 23.12%, providing an effective strategy for fabricating high-efficiency normal perovskite solar cells.
2025, 74(2): 028501.
doi: 10.7498/aps.74.20241298
Abstract:
During the study of resistive switching devices, researchers have found that the influence of the insertion layer cannot be ignored. Many reports have confirmed that the appropriate insertion layer can significantly improve the performance of the resistive switching devices. Therefore, in this work, we use magnetron sputtering to fabricate three devices: Cu/MgO/Cu, Cu/MgO/MoS2/Cu and Cu/MoS2/MgO/Cu. Through the characterization test of each device and the measurement of the I-V curve, it is found that the resistive switching characteristics of the Cu/MgO/Cu device will change greatly after adding an MoS2 insertion layer. The analysis results show that the inserted MoS2 layer does not change the main transmission mechanism (space charge limited conduction) of the device, but affects the regulating function of interfacial potential barrier, the effect also is related to the location of MoS2 inserted into the layer. Among the Cu/MgO/Cu, Cu/MgO/MoS2/Cu and Cu/MoS2/MgO/Cu devices, the Cu/MgO/MoS2/Cu device exhibits a larger switching ratio (about 103) and a lower reset voltage (about 0.21 V), which can be attributed to the regulation of the interface barrier between MgO and MoS2. In addition, when the MoS2 layer is inserted between the bottom electrodes Cu and MgO, the leakage current of the device is significantly reduced. Therefore, Cu/MoS2/MgO/Cu device has the highest commercial value from the point of view of practical applications. Finally, according to the XPS results and XRD results, we establish the conductive filament models for the three devices, and analyze the reasons for the different resistive switching characteristics of the three devices.
During the study of resistive switching devices, researchers have found that the influence of the insertion layer cannot be ignored. Many reports have confirmed that the appropriate insertion layer can significantly improve the performance of the resistive switching devices. Therefore, in this work, we use magnetron sputtering to fabricate three devices: Cu/MgO/Cu, Cu/MgO/MoS2/Cu and Cu/MoS2/MgO/Cu. Through the characterization test of each device and the measurement of the I-V curve, it is found that the resistive switching characteristics of the Cu/MgO/Cu device will change greatly after adding an MoS2 insertion layer. The analysis results show that the inserted MoS2 layer does not change the main transmission mechanism (space charge limited conduction) of the device, but affects the regulating function of interfacial potential barrier, the effect also is related to the location of MoS2 inserted into the layer. Among the Cu/MgO/Cu, Cu/MgO/MoS2/Cu and Cu/MoS2/MgO/Cu devices, the Cu/MgO/MoS2/Cu device exhibits a larger switching ratio (about 103) and a lower reset voltage (about 0.21 V), which can be attributed to the regulation of the interface barrier between MgO and MoS2. In addition, when the MoS2 layer is inserted between the bottom electrodes Cu and MgO, the leakage current of the device is significantly reduced. Therefore, Cu/MoS2/MgO/Cu device has the highest commercial value from the point of view of practical applications. Finally, according to the XPS results and XRD results, we establish the conductive filament models for the three devices, and analyze the reasons for the different resistive switching characteristics of the three devices.
2025, 74(2): 028701.
doi: 10.7498/aps.74.20241465
Abstract:
Metasurfaces have the characteristics of simple structure, easy fabrication, easy integration, etc., and can flexibly control electromagnetic waves. They are widely used in terahertz filters, lenses, polarization converters, wavefront adjustment and terahertz imaging and so on. By encoding and arranging unit cells with different amplitudes and phases according to a certain rule, the metasurfaces can achieve various functions such as imaging, focusing, beam splitting, and vortex beam. The reported coding metasurfaces are phase-modulated according to geometric phase or transmission phase theory. However, geometric phase has spin-locking property and transmission phase has single-frequency property, which hinder the applications of a unified metasurface in simultaneously regulating geometric phase and transmission phase. To address the above issues, in this work, we propose an radian and rotation co-induced phase modulation metasurface, whose unit cell independently modulates the cross-polarized reflection phases of LCP wave and RCP wave and has a certain bandwidth, which meets therequirement in a frequency region of 1–1.2 THz. Through the principle of phase convolution and shared aperture, the metasurface realizes the vortex beams with a topological charge of ±1, focusing with a focal length of 1500 μm, the deflected vortex beams with a topological charge of ±2, the quasi-perfect vortex beams, and the multichannel vortex beams. The structure has the advantages of simple structure, flexible and convenient regulation, and compact size, which improves the utilization of the electromagnetic space and has a broad application prospect in the future terahertz communication systems.








